요약
이 발명은 미세 먼지를 포집하는 건축물 외장재에 관한 것입니다. 미세 먼지는 대기 중에 떠다니는 입자상 물질로, 화석연료를 태울 때나 공장자동차 등의 배출 가스에서 많이 발생합니다. 이를 체내로 흡입하면 호흡기질환, 심혈관계 질환 등을 야기할 수 있습니다. 이에 따라, 미세 먼지를 저감하는 기술이 필요하게 되었습니다. 이 발명은 트리콤 구조물을 이용하여 미세 먼지를 포집하고, 적외선 센서와 수위 센서를 통해 먼지의 양과 물의 수위를 측정하여 먼지를 제거합니다. 이 기술은 건축물 외장재로 활용할 수 있으며, 공기 중의 먼지를 포집하여 환경 보호에 기여하고, 건축물의 미관을 향상시키며, 산업의 다양한 문제를 해결할 수 있습니다.
기본 정보
•
특허명: 건축물 외장재
•
대표 발명자: 이도균 교수
•
출원번호: 10-2023-0057314
발명의 배경 및 필요성
발명의 배경
•
건축물 외장재의 중요성과 활용도
•
미세먼지 문제의 심각성과 그로 인한 건강 위험
•
화석연료와 배출가스로 인한 미세먼지 발생 증가
•
미세먼지의 주성분인 이온성분과 화합물
발명의 필요성
•
미세먼지 포집 능력을 지닌 건축물 외장재의 필요성
•
기존 광촉매 작용 기술의 한계와 고비용 문제
•
미세먼지 저감을 위한 효과적인 대안 기술의 요구
•
트리콤 구조물을 활용한 미세먼지 포집 기술의 개발 필요성
실험 및 구현
제조 방법
•
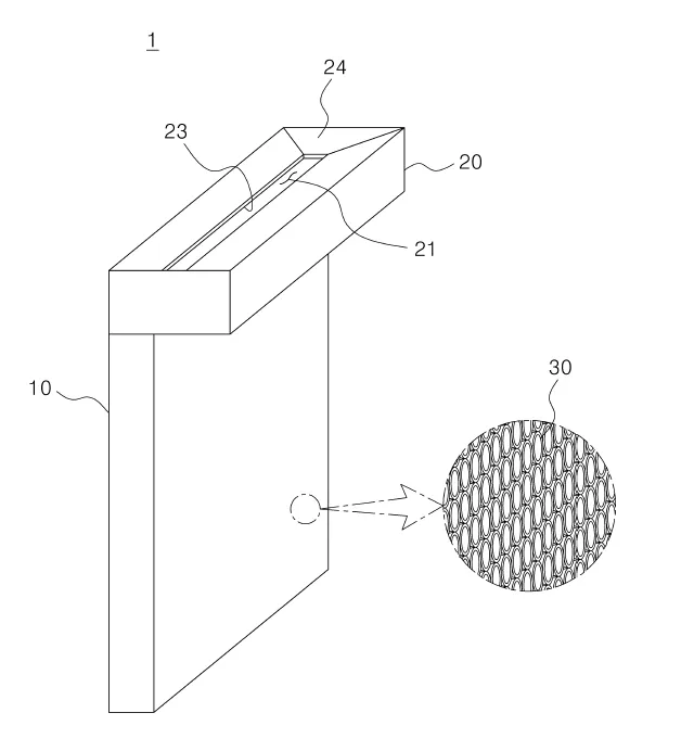
건축물 외장재는 플레이트, 상부 수조, 트리콤 구조물로 구성
•
트리콤 구조물은 바닥면과 이루는 각도가 수분 함량에 따라 변화
•
적외선 센서부와 수위 센서부를 포함하여 먼지의 양과 물의 수위를 감지
실험 결과 및 구현 효과
•
트리콤 구조물의 돌출부 폭에 따른 먼지 포집 효율 변화
•
적외선 센서부를 통한 먼지의 양 검출 및 제어부로의 송신
•
제어부를 통한 먼지의 양이 기설정된 양 이상일 경우의 배출구 개방
•
트리콤 구조물의 반영구적 재사용 가능성
•
먼지가 많아지면 자동으로 물을 배출하여 먼지가 떨어져 나가게 함으로써 먼지 포집 능력 유지
발명의 활용 방안
제품 및 서비스 적용
•
다양한 건축물 외장재에 활용 가능
•
삼축내진말뚝은 건물 하부의 트러스 기둥 역할을 하며 내진 보강에 적합
•
STS 웨이브 물탱크는 지진시 탱크 속 물의 진동을 줄이는 효과가 있음
산업 및 사회 문제 해결
•
철강은 외부 충격을 잘 흡수하는 재료로, 건축물의 안전성을 보장
•
트리콤 구조물은 공기 중 먼지를 포집하여, 저비용으로 높은 먼지 저감 효과를 가짐
•
적외선 센서는 주변 환경의 적외선을 감지하여, 반응성과 정확도를 제어
시장 동향
미세먼지 저감 기술 시장 동향
건축물 외장재 시장 동향
트리콤 구조물 활용 시장 동향
대표도면
인천대학교 산학협력단
(21999) 인천광역시 연수구 갯벌로 27(송도동) INU이노베이션센터 202호
본 메일은 마케팅 활용 동의서에 동의하신 회원님께 전송된 것입니다.
COPYRIGHT (c) 2023 Incheon National University. ALL RIGHT RESERVED.




