요약
본 발명은 음식물 쓰레기에서 오수를 효과적으로 분리하고 처리하는 수거 시스템을 제안합니다. 이 시스템은 중력을 이용하여 별도의 에너지를 사용하지 않고 오수를 분리하며, 제1오수 수용함과 제2오수 수용함, 그리고 흡수패드를 이용해 오수를 안정적으로 처리합니다. 이를 통해 음식물 쓰레기의 효율적인 수거와 처리를 가능하게 하며, 흡수패드는 오수를 흡수하여 고형화시키므로 운반과 처리가 용이해집니다. 또한, 흡수패드는 반복적으로 사용 가능하며, 오수를 흡수한 후에는 비료나 사료 등으로 재활용이 가능하여 환경 보호 및 자원 순환에 기여할 것으로 기대됩니다.
기본 정보
•
특허명: 음식물 쓰레기 수거함
•
대표 발명자: 이도균 교수
•
출원번호: 10-2023-0005561
발명의 배경 및 필요성
기술 배경과 문제점
•
우리나라에서는 하루에 약 1만 5903톤의 음식물 쓰레기가 발생, 이는 전체 생활폐기물 발생량의 약 30%를 차지함
•
음식물 쓰레기는 환경 오염 방지를 위해 직매립과 해양 투기가 금지되어, 소각, 퇴비화, 사료화, 소멸화 등의 방법으로 처리되어야 함
•
그러나 음식물 쓰레기의 수분 함량이 80~85%로 높아 쉽게 부패되어 악취와 오수가 발생, 기존의 수거함은 이러한 특성을 고려하지 않아 고형물과 오수를 함께 수거하므로 운반에 어려움이 있고, 쓰레기의 자원화에도 한계가 있음
기술의 필요성과 목표
•
음식물 쓰레기의 적절한 처리와 관리는 환경보호와 자원의 효율적 활용을 위해 중요함
•
음식물 쓰레기의 수분 함량이 높아 쉽게 부패되는 특성을 고려하여, 고형물과 오수를 분리하여 수거할 수 있는 새로운 시스템이 필요함
•
이 시스템은 음식물 쓰레기의 자원화를 향상시키고, 운반 과정에서의 어려움을 줄일 수 있음
•
본 발명은 이러한 문제를 해결하고, 음식물 쓰레기의 효율적인 수거와 처리를 가능하게 하는 것을 목표로 함
구현방법
기술 원리 및 구현 방법
•
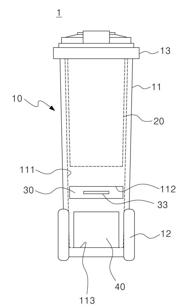
이 수거함은 음식물 쓰레기에서 오수를 분리하고, 분리된 오수를 효과적으로 처리하는 것을 목표로 함.
•
수거함은 중력을 이용해 쓰레기에서 오수를 분리하며, 이 과정에서 별도의 에너지를 사용하지 않음.
•
쓰레기 수용함은 쓰레기에서 오수를 분리하며, 그 오수는 제1오수 수용함으로 이동됨.
•
제1오수 수용함이 가득 차면, 오수는 제2오수 수용함으로 이동함.
•
흡수패드는 제1오수 수용함에 있는 오수를 흡수하며, 이 흡수패드는 해파리 고분자를 포함하는 고흡수성 고분자 수지로 제조됨.
기술의 장점
•
이 시스템은 음식물 쓰레기에서 오수를 효과적으로 분리하고 처리할 수 있음.
•
중력을 이용해 별도의 에너지를 사용하지 않기 때문에 에너지 효율적임.
•
제1오수 수용함, 제2오수 수용함, 그리고 흡수패드를 이용해 오수를 안정적으로 처리할 수 있음.
실험 및 결과
실험 목적 및 방법
•
음식물 쓰레기로부터 오수를 분리하고, 이를 효과적으로 처리할 수 있는 수거함을 개발하는 것임.
•
음식물 쓰레기를 수거함에 넣고, 쓰레기에서 오수를 분리함.
•
분리된 오수는 제1오수 수용함과 제2오수 수용함으로 이동되며, 흡수패드가 제1오수 수용함에 있는 오수를 흡수함.
•
제1오수 수용함에서 넘치는 오수는 제2오수 수용함으로 이동됨.
실험 결과
•
음식물 쓰레기로부터 오수를 효과적으로 분리하고 분리된 오수를 안정적으로 처리할 수 있음을 확인함.
•
제1오수 수용함, 제2오수 수용함, 그리고 흡수패드는 오수를 안정적으로 처리할 수 있음을 확인함.
•
별도의 에너지를 사용하지 않고 중력을 이용해 오수를 분리하고 처리할 수 있음을 확인함.
발명의 활용 방안
제품 및 서비스 적용
•
음식물 쓰레기에서 오수를 분리하고, 이를 흡수패드에 통해 고형화하여 운반과 처리가 용이하게 함
•
음식물 쓰레기 수거 및 처리 서비스에 이 기술을 적용하면, 흡수패드를 교체하여 반복적으로 사용 가능함
•
오수를 흡수한 흡수패드는 비료나 사료 등으로 재활용 가능하여, 환경 친화적인 제품 및 서비스 개발에 활용 가능함
기대효과
기술 혁신과 사회적 가치
•
오수와 음식물 쓰레기를 효과적으로 분리하고 고형화하는 기술로, 효율적인 운반과 처리가 가능하며, 이는 기술적 혁신을 달성함
•
흡수패드의 반복적인 재사용으로 자원 효율성을 높이는 방안을 제공함
•
악취와 세균 저감으로 생활 환경 향상에 기여하며, 음식물 쓰레기의 용이한 수거 및 자원화로 환경 보호 및 자원 순환에도 기여함
장래적인 전망
•
오수를 흡수한 흡수패드를 비료나 사료 등으로 재활용하여 지속 가능한 자원 관리를 실현하고, 이를 통해 환경 문제 해결에 기여할 것으로 전망됨
시장 동향
폐기물 관리 시장 동향
환경 보호 시장 동향
기술 SWOT 분석
Strengths
음식물 쓰레기의 효율적 처리
•
음식물 쓰레기에서 오수를 효과적으로 분리하고 처리할 수 있어, 환경보호와 자원의 효율적 활용에 기여합니다.
에너지 효율성
•
중력을 이용해 별도의 에너지를 사용하지 않기 때문에 에너지 효율적입니다.
오수 안정적 처리
•
제1오수 수용함, 제2오수 수용함, 그리고 흡수패드를 이용해 오수를 안정적으로 처리할 수 있습니다.
Weaknesses
흡수패드의 교체 필요성
•
흡수패드를 정기적으로 교체해야 하므로, 관리가 필요합니다.
시스템의 복잡성
•
제1오수 수용함, 제2오수 수용함, 그리고 흡수패드를 이용하는 시스템이 복잡할 수 있습니다.
Opportunities
환경 친화적인 제품 및 서비스 개발
•
오수를 흡수한 흡수패드는 비료나 사료 등으로 재활용 가능하여, 환경 친화적인 제품 및 서비스 개발에 활용 가능합니다.
자원 순환에 기여
•
음식물 쓰레기의 용이한 수거 및 자원화로 환경 보호 및 자원 순환에 기여할 수 있습니다.
Threats
기존 음식물 쓰레기 처리 방법과의 경쟁
•
기존에 널리 사용되고 있는 음식물 쓰레기 처리 방법과의 경쟁에서 밀릴 수 있습니다.
환경 규제의 변동성
•
환경 규제의 변동성으로 인해 기술의 적용에 제한이 있을 수 있습니다.
Summary
Strengths
•
음식물 쓰레기에서 오수를 효과적으로 분리하고 처리하며, 에너지 효율적이며 오수를 안정적으로 처리할 수 있습니다.
Weaknesses
•
흡수패드의 교체 필요성과 시스템의 복잡성이 있습니다.
Opportunities
•
환경 친화적인 제품 및 서비스 개발에 활용 가능하며, 자원 순환에 기여할 수 있습니다.
Threats
•
기존 음식물 쓰레기 처리 방법과의 경쟁과 환경 규제의 변동성이 있습니다.
대표도면
인천대학교 산학협력단
(21999) 인천광역시 연수구 갯벌로 27(송도동) INU이노베이션센터 202호
본 메일은 마케팅 활용 동의서에 동의하신 회원님께 전송된 것입니다.
COPYRIGHT (c) 2023 Incheon National University. ALL RIGHT RESERVED.
.png&blockId=b6929a2a-8ae6-48ce-b68d-6acf163cabf5)


