요약
본 발명은 전자 장치 및 방법은 비전 트랜스포머 모델을 활용하여 뇌파 스펙트로그램 이미지를 분석하고, 정상과 비정상 뇌 활동을 구분하는 AI 기술입니다. 뇌파 이미지를 패치로 분할하고 트랜스포머 인코더를 통해 패턴을 학습하여 뇌 건강 상태를 시각적으로 이해하고 정확한 진단을 가능하게 합니다. 사용자 인증 기능을 통해 시스템 보안도 강화되었습니다. 실험 결과, 이 모델은 뇌 활동 패턴을 성공적으로 학습하고 새로운 이미지의 정상 여부를 정확히 판별했습니다. 이 발명은 의료 영상 분석의 혁신을 가져오고, 의료 데이터의 안전성을 강화하는 동시에 조기 진단과 치료에 기여하여 환자의 삶의 질을 향상시키고 의료 비용을 절감할 것으로 기대됩니다.
기본 정보
•
특허명: 비전 트랜스포머 모델에 기초하여 뇌파 스펙트로그램 이미지에 대한 정상 여부 판단을 수행하는 전자 장치 및 그 동작 방법
•
대표 발명자: 김지범 교수
•
출원번호: 10-2023-0015354
발명의 배경 및 필요성
기술의 배경
•
20세기 초 Hans Berger가 인간의 뇌파를 최초로 기록하면서 뇌파 분석 연구가 시작되었고, 이는 뇌 기능 이해와 질환 진단에 필수적인 뇌의 전기적 활동을 시각화하는 데 중요한 역할을 함
•
뇌파 스펙트로그램은 주파수와 진폭을 상세히 분석할 수 있는 도구로, 뇌 건강 모니터링 기술 발전에 따라 EEG 장치의 접근성이 향상되고 AI와의 통합으로 진단의 정확성과 효율성이 높아지고 있음
•
그러나 뇌파 스펙트로그램 이미지 분석은 여전히 전문 지식을 요구하고 시간이 많이 소요되는 문제가 있음
사회적 및 경제적 필요성
•
인공지능을 활용한 뇌파 스펙트로그램 이미지 분석은 진단 과정을 자동화하여 뇌 질환 스크리닝을 더욱 접근 가능하게 만들고, AI 기술의 발전으로 정밀 진단을 통한 개인 맞춤형 치료가 가능해질 것으로 기대됨
•
기존의 뇌파 분석 방법이 전문가의 해석을 필수로 했던 것과 달리, AI를 통한 분석은 전문성 요구를 줄이고 대규모 데이터셋 학습을 통해 정상 및 비정상 뇌 활동 패턴을 신속하고 정확하게 식별할 수 있음
•
이 발명은 뇌 질환 진단이 필요한 의료 전문가와 임상 연구자들을 주요 대상으로 하며, 웨어러블 EEG 장치를 사용하는 일반 사용자들에게도 유용할 것임
구현방법
기술의 원리 및 구현
•
뇌파 스펙트로그램 이미지를 분석하여 정상 및 비정상 뇌 활동을 AI 기술로 분류함
•
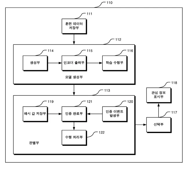
이미지를 패치로 분할하고 순서대로 배열하여 트랜스포머 인코더에 입력, 패턴을 학습하고 분류함
•
훈련 데이터 저장소에 뇌파 스펙트로그램 이미지와 정답 라벨을 저장하고, 비전 트랜스포머 모델을 이용해 판별 모델을 생성함
•
훈련된 모델로 새로운 이미지의 정상 여부를 판별하는 기능을 개발함
기술의 장점
•
뇌파 스펙트로그램을 시각적으로 나타내어 뇌 건강 상태 이해에 도움을 줌
•
뇌 이상 진단을 위한 정확한 분석 방법과 전자 장치를 제공함
발명의 활용 방안
의료 영상 분석의 혁신
•
비전 트랜스포머를 통해 뇌파 스펙트로그램을 정밀하게 분석하며, 뇌 질환의 조기 발견 및 치료에 기여
•
의료 전문가가 뇌파 영상을 신속하고 정확하게 판단할 수 있도록 지원
의료 데이터의 안전성 강화
•
의료용 인공지능 시스템에 적용되어 환자 데이터 보안을 강화하고, 인증된 의료 전문가만 시스템 접근을 허용하는 보안 체계를 구축
기대효과
기술적 혁신과 사회적 가치
•
비전 트랜스포머 기술로 뇌파 영상 분석의 정확도와 진단의 신속성을 향상시켜 기대
•
조기 진단을 통한 환자의 삶의 질 향상과 의료 비용 절감에 기여
장기적인 비전
•
뇌 질환 연구와 치료 방법의 개선에 기여할 것으로 기대되는 발전된 뇌파 영상 분석 기술
•
정밀 의료를 위한 인공지능 기술 발전에 중요한 역할을 할 것으로 전망
시장 동향
의료기기 시장 동향
기술 SWOT 분석
Strengths
뇌파 스펙트로그램의 정밀 분석
•
뇌파 스펙트로그램을 통해 뇌 건강 상태를 시각적으로 나타내어 이해를 돕습니다.
•
뇌 이상 진단을 위한 정확한 분석 방법과 전자 장치를 제공합니다.
인공지능 기술의 통합
•
AI 기술을 활용하여 뇌파 이미지 분석을 자동화하고 진단의 정확성을 높입니다.
•
대규모 데이터셋 학습을 통해 정상 및 비정상 뇌 활동 패턴을 신속하게 식별합니다.
Weaknesses
전문 지식 요구
•
뇌파 스펙트로그램 이미지 분석은 여전히 전문 지식을 요구하는 부분이 있습니다.
분석 시간 소요
•
뇌파 스펙트로그램 이미지 분석에 시간이 많이 소요됩니다.
Opportunities
뇌 건강 모니터링 기술의 발전
•
EEG 장치의 접근성 향상과 AI 통합으로 진단의 정확성과 효율성이 높아집니다.
개인 맞춤형 치료의 가능성
•
AI 기술의 발전으로 정밀 진단을 통한 개인 맞춤형 치료가 가능해질 것으로 예상됩니다.
Threats
기술적 복잡성과 전문성
•
AI 기술을 통한 분석은 전문성 요구를 줄이지만, 여전히 일정 수준의 전문 지식이 필요합니다.
대규모 데이터셋의 필요성
•
정확한 AI 분석을 위해서는 대규모의 뇌파 스펙트로그램 이미지 데이터셋이 필요합니다.
Summary
Strengths
•
뇌파 스펙트로그램의 정밀 분석과 AI 기술의 통합으로 진단의 정확성과 효율성을 제공합니다.
Weaknesses
•
분석에는 여전히 전문 지식이 요구되고 시간이 많이 소요됩니다.
Opportunities
•
진단 기술의 발전과 개인 맞춤형 치료의 가능성이 열립니다.
Threats
•
기술적 복잡성과 대규모 데이터셋의 필요성이 도전 과제로 남아 있습니다.
대표도면
인천대학교 산학협력단
(21999) 인천광역시 연수구 갯벌로 27(송도동) INU이노베이션센터 202호
본 메일은 마케팅 활용 동의서에 동의하신 회원님께 전송된 것입니다.
COPYRIGHT (c) 2026 Incheon National University. ALL RIGHT RESERVED.


