요약
화재가 발생하면 유독가스와 열기로 인해 접근이 어려워 신속한 대응이 필요합니다. 기존의 소화기는 무겁고 조작이 복잡해 노약자가 사용하기 어렵습니다. 다기능 발사형 소화장치는 권총 형태로 설계되어 누구나 쉽게 사용할 수 있으며, 다양한 화재 상황에 따라 소화볼이나 방염천을 발사하여 사용 가능합니다. 이 장치는 다양한 화재 종류에 맞춤형으로 대응할 수 있고, 원거리에서도 안전하게 화재를 진압할 수 있어 인명 피해와 재산 손실을 최소화합니다. 특히 산업 현장과 같이 신속한 초기 대응이 중요한 곳에서 유용합니다.
기본 정보
•
특허명: 다기능의 발사형 소화장치
•
발명자: 이민철 교수
•
출원번호: 10-2021-0026842
•
등록번호: 10-2600531
상세 정보
발명의 배경과 필요성
기술의 배경과 문제점
•
화재 발생 시 사람들은 신속하게 대응하기 어려운 상황이 발생함. 특히 유독가스와 열기로 인해 화재 지점에 직접 접근하는 것이 위험함.
•
기존의 비치형 소화기는 무거운 무게와 복잡한 조작법으로 인해 노약자가 사용하기 어려움. 또한 화재 지점에 접근해야 하는 문제로 인해 안전하지 않음.
•
새로운 소화 기술로, 누구나 쉽게 사용할 수 있고, 떨어진 거리에서 화재를 진화할 수 있는 방법이 필요함.
기술의 필요성
•
화재의 초기 진화를 신속하게 할 수 있으며, 다양한 종류의 화재에 맞춤형으로 대응할 수 있는 소화장치가 절실함.
•
노약자도 쉽게 사용할 수 있으며 반복적 사용이 가능해 화재 처리 비용을 절감할 수 있는 시스템이 필요함.
구현방법
기술의 원리
•
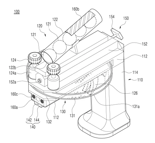
다기능 발사형 소화장치는 권총 형태의 몸체에 소화볼, 방염천, 센싱부 등을 탑재하여, 다양한 화재 상황에 맞춰 사용하는 장치임.
•
소화볼 발사부는 구형 소화볼을 전방으로 발사하여 B급 화재를 진화함. 발사 휠을 회전시켜 소화볼을 멀리 발사할 수 있음.
•
방염천 발사부는 C급 화재를 질식시켜 진화하기 위한 장치로, 방염천을 발사하여 화재를 덮음.
구체적인 구현 방법
•
권총형 몸체의 총신과 손잡이를 통해 사용자가 편리하게 조작할 수 있음. 가벼운 금속소재나 난연성 플라스틱으로 제작되어 휴대와 사용이 용이함.
•
소화볼과 방염천은 각각 별도의 발사부에 의해 조작되며, 레이저 측정기와 적외선 온도계를 사용하여 정확한 조준과 거리 측정 가능.
•
화재 종류에 따라 서로 다른 소화약제를 사용하고, 발사부에 색채나 기호로 구분 표시하여 혼동 없이 사용 가능함.
기술의 장점
•
다양한 종류의 화재에 대응할 수 있으며, 원거리에서 화재를 신속하게 진화할 수 있음.
•
노약자도 손쉽게 사용 가능하며, 재사용이 가능해 화재 처리 비용 절감 효과가 큼.
•
센싱부를 통해 정확하고 신속한 화재 진화가 가능하며, 인명 피해와 재산 손실을 최소화할 수 있음.
활용 방안 및 기대효과
활용 방안
•
이 발명은 가정, 차량, 선박 등 다양한 장소에 비치되어 사용할 수 있음.
•
특히 화재 발생 시 신속한 초기 대응이 중요한 산업 현장과 같은 곳에서 매우 유용할 것으로 기대됨.
•
다양한 화재에 대응하는 맞춤형 소화 기능을 통해 산업 현장에서 발생할 수 있는 다양한 화재 상황에 대비할 수 있음.
기대효과
•
노약자도 쉽게 사용할 수 있어 화재 대응의 접근성을 크게 향상시킬 수 있음.
•
원거리에서 사용할 수 있어 화재 진압 시 안전성을 크게 높일 수 있음.
•
반복 사용 가능으로 인해 비용 절감이 가능하며, 환경 친화적인 제품임.
•
화재 발생 시 신속한 초동 진화로 인명 피해와 재산 손실을 최소화할 수 있음.
시장 동향
다기능 발사형 소화장치 시장 동향
다기능 발사형 소화장치 응용 분야
대표도면
인천대학교 산학협력단
(21999) 인천광역시 연수구 갯벌로 27(송도동) INU이노베이션센터 202호
본 메일은 마케팅 활용 동의서에 동의하신 회원님께 전송된 것입니다.
COPYRIGHT (c) 2026 Incheon National University. ALL RIGHT RESERVED.

