요약
지하수의 존재는 건축물의 구조적 안전에 큰 영향을 미치기 때문에 건축물 아래 지하수가 쌓이지 않도록 주기적으로 배출해 주어야 합니다. 기존의 펌프를 사용하는 배수 방법은 전력 공급이 필수적이라는 문제가 있었으나, 본 발명은 저장된 물의 수압을 이용하여 자동으로 작동하는 개폐구를 통해 수위를 조절하는 집수정을 제안합니다. 이 기술은 전력 공급이 어려운 장소에서도 효율적으로 지하수를 관리할 수 있으며, 에너지 절약과 구조적 안전성 확보라는 두 가지 이점을 동시에 제공합니다.
기본 정보
•
특허명: 수위 조절이 가능한 집수정
•
발명자: 이도균 교수
•
출원번호: 10-2021-0104588
•
등록번호: 10-2678218
상세 정보
발명의 배경과 필요성
기술의 배경과 문제점
•
현대 건축물은 지하수로 인해 구조적 안전을 위협받을 수 있음. 부력으로 인해 건축물이 떠오르거나, 급격한 지하수 제거로 인해 지반 침하가 발생할 수 있는 문제가 있음.
•
전통적으로는 락앙카공법 또는 지하수 배수를 통해 이를 해결하였으나, 전력 공급이 필수적으로 요구되는 문제가 있었음. 전력 없이 내부에 저장된 물을 자동 배출할 수 있는 수위 조절이 가능한 기술이 필요함.
기술의 필요성
•
전력 없이 자동으로 수위를 조절할 수 있는 집수정 기술은 건축물의 안정성을 향상시키고, 운영 비용을 절감할 수 있음. 특히 정전 시에도 안정적인 수위 조절이 가능하여 비상 상황에 대비할 수 있음.
구현방법
기술의 원리
•
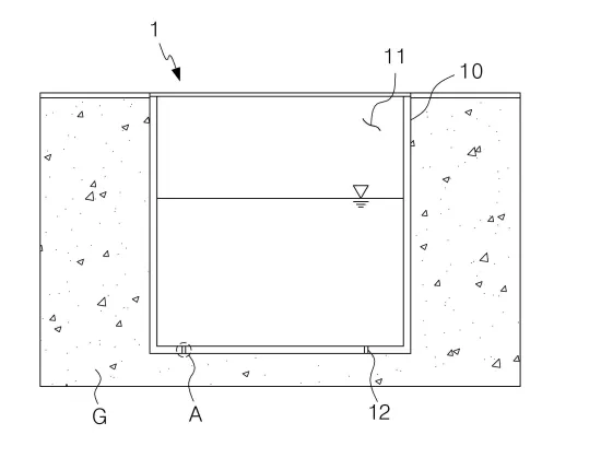
본 발명의 집수정은 내부에 형성된 공간에 물이 저장되고, 하부에 배수구가 형성되어 있음. 배수구는 물의 수압에 의해 자동으로 개폐되는 개폐구를 포함함.
•
개폐구는 배수구에 삽입되어 결합되는 안착부, 물의 수압을 유입시키는 결합부, 수압에 따라 승강되며 배수구를 개폐하는 이동부, 이동부를 상승시키는 탄성부로 구성됨.
구체적인 구현 방법
•
안착부는 중공이 관통된 원형 기둥 형태로, 배수구와 밀착 결합됨. 결합부는 안착부 상부에 결합되며, 물이 유입되는 유입공을 포함함. 차단부는 결합부 중심에 결합되어, 안착부를 관통함.
•
이동부는 수압에 따라 승강되며, 차단부를 감싸도록 설계됨. 탄성부는 이동부와 함께 작동하여, 수압이 높을 때는 이동부를 하강시키고, 낮을 때는 상승시킴으로써 자동으로 배수구를 개폐함.
기술의 장점
•
전력 공급 없이 자동으로 수위를 조절할 수 있어 경제적이며, 정전 시에도 안정적인 수위 조절이 가능함. 또한, 수압에 따라 자동으로 작동하므로 유지보수가 용이함.
발명의 활용 방안
활용 방안
•
본 발명의 집수정은 건축물 지하에 설치되어 지하수 및 우수를 효과적으로 배출할 수 있음. 특히 전력이 공급되지 않는 곳이나 정전이 잦은 지역에서 효과적으로 활용될 수 있음.
•
토목 공사 현장, 지하철 공사 등에서 사용될 수 있으며, 향후 스마트시티 프로젝트에서도 적용 가능함.
기대효과
기대효과
•
건축물의 안정성이 높아져 구조물의 수명이 연장될 수 있음. 전력 소비가 적어 에너지 비용 절감 효과도 기대됨.
•
긴급 상황에서도 안정적인 수위 조절이 가능하여 인명과 재산 피해를 최소화할 수 있음. 또한, 환경 친화적인 기술로 각광받아 시장 경쟁력이 높아질 것임.
시장 동향
지하수 배출 기술
건축물 안정성 기술 응용 분야
비상 상황 대비 기술 시장 동향
대표도면
인천대학교 산학협력단
(21999) 인천광역시 연수구 갯벌로 27(송도동) INU이노베이션센터 202호
본 메일은 마케팅 활용 동의서에 동의하신 회원님께 전송된 것입니다.
COPYRIGHT (c) 2026 Incheon National University. ALL RIGHT RESERVED.

