요약
대중교통은 많은 사람이 이용하는 공공수단으로 바이러스나 세균 감염의 위험이 큽니다. 특히 출퇴근길에 많은 사람이 손잡이를 잡는데, 손은 인체에서 가장 많은 바이러스와 세균을 옮길 수 있는 부위 중 하나로 잘 알려져 있습니다. 기존 손잡이의 자가 소독 장치는 효과적으로 살균하지 못하는 경우가 많아 보다 강력한 기술이 요구됩니다. 본 발명은 손잡이 자체와 사용자의 손을 동시에 살균하는 기술로, 첫 번째로 손잡이에 소독제를 분사하고 두 번째로 자외선 램프로 살균하는 방식을 사용하여 바이러스 감염을 효과적으로 막을 수 있습니다.
기본 정보
•
특허명: 이중으로 살균되는 손잡이 및 이를 이용한 살균방법
•
발명자: 이민철 교수
•
출원번호: 10-2021-0002828
•
등록번호: 10-2472311
상세 정보
발명의 배경과 필요성
기술의 배경과 문제점
•
대중교통은 많은 사람들이 이용하는 공공수단으로, 바이러스나 세균 감염의 위험이 큼. 특히 출퇴근길에 많은 사람들이 손잡이를 잡게 됨. 손은 인체에서 가장 많은 바이러스와 세균을 옮길 수 있는 부위 중 하나로, 손잡이를 통한 감염 가능성이 높음
•
기존 대중교통 손잡이의 자가 소독 장치 기술은 소독액을 이용한 심각한 감염원을 충분히 제거하지 못함. 최근 바이러스와 세균의 강한 감염력과 변이를 고려할 때 더 강력한 살균 기술이 요구됨
기술의 필요성
•
팬데믹 상황에서 대중교통 사용자들이 보다 안전한 환경에서 이동할 수 있도록 손잡이의 철저한 살균이 필요함. 1차적으로 손잡이 자체를 살균하고, 2차적으로 사용자의 손을 살균함으로써 바이러스 감염을 효과적으로 막는 것이 목적임
구현방법
기술의 원리
•
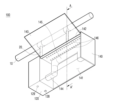
본 발명의 살균 손잡이는 두 개의 주요 부위로 구성됨: 소독제를 분사하는 제1 몸체부와 자외선 램프로 내부를 살균하는 제2 몸체부임
•
제1 몸체부는 열감지 센서를 통해 손바닥을 인식하고 분사구로 소독제를 자동 분사함. 제2 몸체부는 파지부를 내부 공간에서 자외선 램프로 살균함
구체적인 구현 방법
•
제1 몸체부: 손바닥의 열을 감지하여 소독제를 자동으로 분사함. 이 과정에는 저장부와 분사 부를 통해 소독제가 일정량 배출됨
•
제2 몸체부: 내부 공간에 위치한 파지부를 자외선 램프로 살균함. 파지부는 회전축을 통해 노출되거나 내부로 수납되며, 커버가 개방될 때에는 자외선 램프가 꺼짐으로써 자외선에 의한 눈의 손상을 막음
시장 동향
살균 손잡이 시장 동향
살균 손잡이 응용 분야
대표도면
인천대학교 산학협력단
(21999) 인천광역시 연수구 갯벌로 27(송도동) INU이노베이션센터 202호
본 메일은 마케팅 활용 동의서에 동의하신 회원님께 전송된 것입니다.
COPYRIGHT (c) 2026 Incheon National University. ALL RIGHT RESERVED.

