요약
현재 디지털 이미지 처리 분야에서는 저해상도를 고해상도로 변환하는 기술이 필수적입니다. 특히 모바일 기기와 의료 영상 등에서 실시간 이미지의 질 향상이 중요해졌지만, 기존 SISR 기술은 복잡성과 높은 계산량으로 실시간 적용에 어려움이 있습니다. 이 문제를 해결하기 위해 CNN 기반의 간단한 픽셀 셔플링 기법이 적용된 새로운 방법이 도입되었습니다. 이는 처리 속도를 높이고 높은 품질의 이미지를 제공할 수 있어, 다양한 산업 분야에 활용 가능성을 확장합니다. 특히 기존 기술보다 100배 빠른 속도와 우수한 이미지 품질을 입증하여 많은 응용 분야에서 혁신을 불러일으킬 것으로 기대됩니다.
기본 정보
•
특허명: 인공 지능에 기반한 실시간 초해상도 구현 방법 및 장치
•
발명자: 전광길 교수
•
출원번호: 10-2020-0122409
•
등록번호: 10-2488037
상세 정보
발명의 배경과 필요성
기술의 배경과 문제점
•
현대의 디지털 이미지 처리 분야에서 저해상도를 고해상도로 변환하는 기술은 중요한 과제로 떠오르고 있음. 특히 모바일 기기, 의료 영상, 위성 사진 등 다양한 분야에서 고해상도 이미지의 필요성이 증가하고 있음.
•
기존의 SISR(Single Image Super-Resolution) 기술은 복잡한 알고리즘과 높은 계산량으로 인해 실시간 적용에 한계가 있음. 대부분의 기존 방법은 처리 시간이 길고 메모리 소모가 커 실시간 응용에 적합하지 않음.
•
그러므로 실시간으로 효율적인 처리와 높은 품질의 고해상도 이미지를 제공할 수 있는 방법 개발이 시급함.
기술의 필요성
•
인공지능의 발전과 함께 딥러닝 기술을 활용한 이미지 처리 기술이 부각되고 있음. 특히 Deep Convolutional Neural Networks(CNN)는 이미지 재구성 성능을 향상시키는데 중요한 역할을 하고 있음.
•
실시간 응용을 위해서는 신속하면서도 정확한 이미지 초해상화가 필수적이며, 이는 다양한 산업 분야에서 활용 가능성을 확장시킬 수 있는 잠재력을 가짐.
구현방법
기술의 원리
•
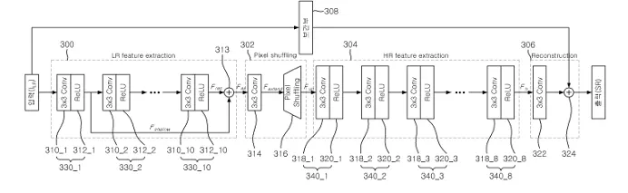
본 발명은 인공지능, 특히 CNN을 활용하여 저해상도 이미지를 실시간으로 고해상도로 변환하는 방법에 관함. 기존의 복잡한 연산 과정을 간단한 픽셀 셔플링 기법을 통해 해결함.
구체적인 구현 방법
•
저해상도 이미지를 입력받아 특징 맵을 생성하는 것으로 시작함. 초기 단계에서는 입력 이미지로부터 얕은 특징을 추출함.
•
이후 픽셀 셔플링을 통해 이미지 해상도를 업스케일링하고, 연속적인 컨볼루션과 활성화 함수를 적용하여 고해상도 특징을 추출함.
•
최종적으로 고해상도 이미지를 재구성하는 과정에서 쌍선형 보간법을 적용하여 기존의 저해상도 이미지와의 결합을 통해 명확한 결과물을 도출함.
기술의 장점
•
실시간 고해상도 이미지를 생성할 수 있는 높은 처리 속도를 가지고 있음.
•
기존 초해상화 기법에 비해 계산 복잡성이 낮아 다양한 플랫폼에 쉽게 적용 가능함.
실험 및 결과
실험의 목적
•
제안된 방법의 성능을 객관적으로 평가하기 위해 많은 공개 데이터 세트를 활용하여 실험을 진행하였음. 목표는 기존 방법보다 빠른 처리 속도와 높은 품질의 이미지를 제공할 수 있음을 입증하는 것임.
실험 방법 및 과정
•
다양한 스케일링 인자를 사용하여 여러 데이터 세트를 통해 성능 평가를 진행. 각 실험은 에너지 사용량과 결과 이미지의 품질을 기반으로 평가됨.
•
특히 VDSR과 비교 평가하여 동일한 훈련 설정 하에서 제안된 방법의 효율성과 우수성을 검증함.
실험 결과
•
제안된 방법은 기존 VDSR에 비해 100배 이상의 속도 향상을 이루었으며, PSNR 및 SSIM 측면에서 모든 벤치마크 데이터 세트에서 우수한 성능을 보여줌.
•
이미지 재구성 품질과 처리 속도 모두에서 타의 추종을 불허하는 결과를 도출함.
활용 방안 및 기대효과
활용 방안
•
모바일 기기, 위성 영상 및 의료 영상 등 고해상도 이미지가 필요한 분야에 다양하게 활용될 수 있음.
•
사물인터넷(IoT) 장치의 실시간 응용을 가능하게 하여 빠른 결과와 높은 품질을 요구하는 다양한 산업에 적용 가능함.
기대효과
•
실시간 이미지 처리에 있어서 기존 방법의 한계를 극복하고, 다양한 응용 분야에서 새로운 가능성을 열어줌.
•
산업 전반에 걸쳐 고해상도 이미지의 필요성을 충족시키며, 기기의 성능 향상에 기여할 것으로 예상됨.
시장 동향
저해상도 고해상도 변환 시장 동향
인공지능 이미지 처리 응용 분야
대표도면
인천대학교 산학협력단
(21999) 인천광역시 연수구 갯벌로 27(송도동) INU이노베이션센터 202호
본 메일은 마케팅 활용 동의서에 동의하신 회원님께 전송된 것입니다.
COPYRIGHT (c) 2026 Incheon National University. ALL RIGHT RESERVED.

