요약
유해화학물질의 누출은 환경과 건강에 심각한 위험을 초래할 수 있습니다. 특히 저온저장탱크의 파손이나 밸브 고장 같은 사고는 끔찍한 결과를 가져올 수 있습니다. 이를 예방하기 위해 본 발명에서는 누출된 화학물질의 외부 확산을 방지하는 자동 감지 및 차단 시스템을 제공합니다. 레이저액위측정기와 가스측정기가 누출을 감지하면, 자동분사장치가 즉시 반응하여 화학물질을 동결, 확산을 차단합니다. 네온과 아르곤 같은 화학적으로 안정된 기체를 사용함으로써 화학물질과의 반응을 방지하고, 응급상황에 신속히 대처하여 인명과 환경 피해를 최소화할 수 있습니다.
기본 정보
•
특허명: 유해화학물질 대기확산 방지시스템 및 이를 이용한 유해화학물질 대기확산 방지방법
•
발명자: 송창근 교수
•
출원번호: 10-2018-0074809
•
등록번호: 10-2070691
상세 정보
발명의 배경과 필요성
배경 및 문제점
•
화학물질 저장시설에서 발생하는 유해화학물질의 누출은 심각한 환경 문제와 건강 위험을 초래할 수 있음. 화학물질관리법의 기존 규정은 시설 안전관리의 사각지대를 남기고 있었음. 특히, 저온저장탱크 및 유해물질 보관시설에 대한 구체적인 안전 기준이 부족했음
•
2013년 경북에서 발생한 염산 누출사고는 이러한 문제의 심각성을 보여주는 사례임. 연일 계속된 한파로 염산 저장탱크의 밸브가 파손되면서 염산이 유출되고, 염화수소 가스가 대기 중으로 확산되는 사고가 발생함
•
기존의 기술 및 법령은 유해화학물질의 초기 감지와 응급대처에 초점이 맞춰져 있었으나, 누출된 물질의 외부확산을 직접적으로 차단하는 기술은 제시하지 못함
기술의 필요성
•
유해화학물질이 대기 중으로 확산될 경우, 인명 피해와 환경 오염이 발생할 수 있음. 이러한 위험을 줄이기 위해 유해물질의 확산을 사전에 차단하는 기술이 필요함
•
시설의 안전성을 높이기 위해 자동화된 감지 및 방지 시스템의 필요성이 대두됨. 이는 화학사고 발생 시 신속하고 효과적인 대응을 가능하게 하여 피해를 최소화하는 데 기여함
구현방법
기술의 원리
•
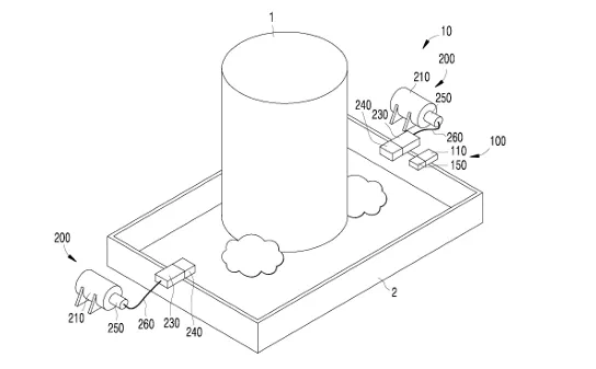
본 발명은 유해화학물질 누출 시 외부 확산을 방지하는 시스템을 구현함. 유출누출감지장치와 자동분사장치를 포함함
•
유출누출감지장치는 레이저액위측정기와 가스측정기를 사용하여 누출량과 화학물질 농도를 감지함. 감지 정보는 제어부를 통해 자동분사장치로 전송됨
•
자동분사장치는 저온기체를 저장하고, 필요 시 방류벽 안쪽으로 고압의 저온기체를 분사하여 화학물질을 동결시킴으로써 확산을 막음
구체적인 구현 방법
•
저온기체는 네온, 아르곤 등 화학적으로 안정된 8족 원소를 사용하여, 화학물질과의 반응을 방지함
•
감지제어부는 각 측정기로부터 오는 신호를 처리하며, 일정 조건을 만족할 때 경보를 발신하고 자동분사장치를 활성화함
•
저온저장탱크에서 분사기로 이어지는 이송튜브는 내산성, 내염기성 재질로 제작되어 유해한 화학물질과의 접촉에도 강함
발명의 활용 방안
활용 방안
•
본 시스템은 화학물질 저장시설 외에도 다양한 산업 현장에서 적용 가능함. 석유화학, 정유 공장 등에서의 활용이 기대됨
•
유해물질을 취급하는 모든 산업에서 누출 사고 시 신속하고 효과적인 대응을 통해 인명 및 환경 피해를 최소화할 수 있음
•
각종 산업 분야의 안전 관리 체계 강화에 기여함으로써 기업의 안전 이미지 향상 및 법적 책임 완화에 기여할 수 있음
기대효과
•
화학물질 누출로 인한 대형 사고를 예방하여 환경오염 및 인명 피해를 줄일 수 있음
•
유해화학물질의 외부확산을 동결을 통해 실질적으로 차단하여, 사고 대응 비용을 획기적으로 절감할 수 있음
•
산업 전반의 안전 기준을 향상시키며, 정부 규제에 대한 적극적인 대응 기반을 제공함
시장 동향
유해화학물질 확산 방지 기술 시장 동향
유해화학물질 확산 방지 기술 응용 분야
대표도면
인천대학교 산학협력단
(21999) 인천광역시 연수구 갯벌로 27(송도동) INU이노베이션센터 202호
본 메일은 마케팅 활용 동의서에 동의하신 회원님께 전송된 것입니다.
COPYRIGHT (c) 2026 Incheon National University. ALL RIGHT RESERVED.

