요약
밀폐된 공간에서의 작업이 필요한 상황에서 유독가스와 산소 결핍 위험을 줄일 수 있는 휴대용 장치가 주목받고 있습니다. 기존의 이동 통로가 좁은 덕트 문제를 해결하여 안전한 환경을 제공합니다. 이 장치는 신선한 공기를 공급하고 유독가스를 배출하며, 휴대가 용이하고 효율적인 설치가 가능합니다. 이는 하수구나 터널 등 다양한 산업 현장에서 작업 효율성과 안전성을 높이는 데 기여할 수 있습니다.
기본 정보
•
특허명: 휴대용 흡배기 장치
•
발명자: 이민철 교수
•
출원번호: 10-2019-0093085
•
등록번호: 10-2269409
상세 정보
발명의 배경과 필요성
기술의 배경과 문제점
•
맨홀과 같은 밀폐 공간에서 작업은 작업자의 안전이 보장되어야 함. 외부 공기와 거의 차단된 상태에서 유독가스나 산소 결핍으로 인한 사고가 자주 발생함.
•
기존 기술은 덕트의 이동 통로가 좁아져 유체 이동에 문제가 발생, 작업자 안전에 위협을 줌.
기술의 필요성
•
공간 내 신선한 공기를 제공하며 유독가스 배출이 가능한 장치의 필요성이 증가함.
•
휴대가 가능하며 덕트의 내부 통로가 좁아지지 않도록 설계된 시스템으로 작업자의 안전을 보장할 필요가 있음.
구현방법
기술의 원리
•
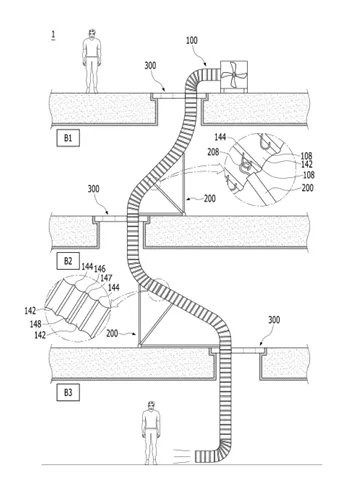
이 휴대용 장치는 송풍기와 신축 가능한 덕트로 구성되며, 덕트 내부의 유체 이동 통로가 좁아지지 않도록 설계된 지지부와 덮개부를 포함함.
구체적인 구현 방법
•
덕트부재는 송풍기와 결합되어 공기 통로를 제공하며, 회전축과 각도조절을 통해 덕트부재의 방향을 조절할 수 있는 지지부 포함.
•
다중의 신축 가능한 보조 지지바가 덕트부를 지지하며, 덕트가 변형되는 것을 방지함.
•
자력부를 사용하여 덕트의 길이를 연장할 수 있는 구조를 갖추고 있음.
기술의 장점
•
공기 통로의 변형 없이 신선한 공기를 유지하며 유독가스를 효과적으로 배출 가능함.
•
작업자가 안정적으로 장치를 설치하고 이동할 수 있으며, 덮개부는 외부 사고를 방지함.
발명의 활용 방안
활용 방안
•
이 장치는 밀폐된 공간에서의 작업을 보조하며 다양한 산업 현장에서 사용 가능함. 예를 들어 하수구, 터널과 같은 공간에서도 활용할 수 있음.
기대효과
•
작업 환경의 안전성을 크게 향상시키며, 현장 작업자의 사고를 줄이는 데 기여함.
•
덕트 연결 부위의 자력적 결합을 통해 편리한 설치와 운반이 가능하여 작업 효율을 높임.
시장 동향
밀폐 공간 환기 장치 시장 동향
밀폐 공간 환기 장치 응용 분야
대표도면
인천대학교 산학협력단
(21999) 인천광역시 연수구 갯벌로 27(송도동) INU이노베이션센터 202호
본 메일은 마케팅 활용 동의서에 동의하신 회원님께 전송된 것입니다.
COPYRIGHT (c) 2026 Incheon National University. ALL RIGHT RESERVED.

