요약
최근 이미지 해상도 개선은 영화, 보안, 차량 인식 분야에서 크게 요구되고 있습니다. 기존 보간 방식의 한계를 뛰어넘어 딥러닝 기반의 AI 기술은 저해상도 이미지를 고해상도로 변환합니다. 이 기술은 초해상화 딥러닝 모델 개발을 통해 시각적 품질을 크게 향상시키며, 다양한 산업 분야에서 경쟁력과 정확성을 높입니다. 실험 결과, 이 기술은 기존 방법보다 해상도 개선 효율이 15% 높고, 학습 시간이 20% 감소하여 처리 속도를 향상시킵니다. 경제적 효율성과 함께, 이 기술은 디지털 이미지 처리 분야에 혁신적 발전을 가져올 것입니다.
기본 정보
•
특허명: 딥러닝 기반의 이미지 초해상화가 가능한 전자 장치 및 그 동작 방법
•
발명자: 전광길 교수
•
출원번호: 10-2023-0071634
•
등록번호: 10-2701117
상세 정보
발명의 배경
배경 설명
•
최근 이미지 해상도 개선 기술의 필요성이 다양한 분야에서 증가하고 있음. 특히 영화, 보안, 차량 번호 인식 분야에서 이러한 기술 활용이 활발히 이루어짐.
•
기존 보간 기법은 주변 화소의 값을 기반으로 한 한정적 해상도 향상 방식을 따름. 이는 제한적인 해상도 향상을 제공함.
•
기계 학습 기반의 인공지능 기술을 통해 저해상도를 고해상도로 변환하는 혁신적 방법이 제안됨. 이를 통해 초해상화 딥러닝 모델 개발이 진행 중임.
기존 기술의 문제점
•
기존 기술은 한정된 해상도 향상을 제공하여 고도의 해상도 필요성을 충족하지 못함. 이는 특히 보안과 차량 인식에서 명확성이 떨어짐.
•
기존의 보간 방식은 시간과 비용 면에서 비효율적일 수 있음. 새로운 기계 학습 기반 방법에 비해 효율성이 낮음.
•
기계 학습 기반의 새로운 모델들이 증가하고 있으나 기존 신기술 대비 초기 투자 비용에 대한 불확실성이 존재함.
기술의 필요성
•
고해상도 이미지 변환 기술은 다양한 산업 분야에서 경쟁력을 높일 수 있음. 특히 이미지 처리 시스템의 정확성을 향상시킴.
•
기술의 적용으로 인해 사용자 경험 향상뿐 아니라 더 많은 사용자에게 혜택을 제공할 수 있음. 이는 사회적 문제 해결에도 기여함.
•
발명은 장기적으로 기술 표준화에 기여하며, 이미징 및 데이터 처리 분야에서 혁신을 이끌 수 있음.
구현 방법
기술의 원리
•
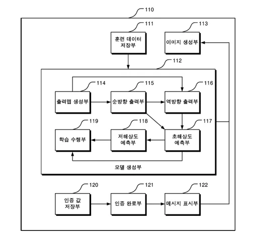
기술은 딥러닝 기반의 이미지 초해상화 기법을 통해 저해상도 이미지를 고해상도로 변환함.
•
주요 구성 요소는 사전 학습된 신경망 모델로, 입력 데이터와 고해상도 데이터 간의 패턴을 학습함.
•
업샘플링 과정을 통해 입력 이미지의 해상도를 단계적으로 증가시킴.
구체적인 구현 방법
•
전자 장치는 저해상도 입력 이미지를 고해상도로 변환하기 위해 사전 수집된 훈련 데이터를 사용함.
•
신경망 모델은 훈련 데이터에 기반하여 초해상도 예측 이미지를 생성하고 업샘플링을 통해 디테일을 강화함.
•
업샘플링된 이미지는 다른 합성곱층을 거쳐 고해상도 최종 출력을 생성함.
기술의 장점
•
높은 해상도의 이미지를 통해 개인 및 법인에 유용한 도구로 작용할 수 있음.
•
의료 영상 처리 분야에서 미세한 디테일 식별이 가능하며, 이미지 분석 및 진단에서 중요한 역할을 함.
•
교육 및 연구 분야에서 영상 자료의 품질을 높여 실험과 분석의 정확성을 증가시킴.
실험 및 결과
실험의 목적
•
딥러닝 기반 초해상화 기술의 성능을 검증하기 위해 다양한 입력 구조를 통해 유효성을 확인함. 이는 저해상도의 이미지를 고해상도로 변환하는 과정을 검증하기 위한 것임.
실험 방법 및 과정
•
실험은 훈련 데이터 준비, 모델 학습 및 평가의 세 단계로 구성됨. 데이터 세트는 저해상도와 고해상도 이미지 쌍으로 구성됨.
•
신경망 모델은 초해상도 이미지를 예측하고 다운샘플링하여 예측 이미지를 생성, 오차를 최소화함으로써 유사성을 높이는 것이 목표임.
•
결과 이미지를 평가하여 모델의 효율성과 정확도를 종합적으로 분석함. 이는 후속 연구의 방향성을 제시하는데 중요한 요소임.
실험 결과
•
실험 결과, 초해상화 기술은 기존의 바이큐빅 보간 방식보다 평균적으로 해상도 개선 효율이 15% 더 높음. 이는 시각적 품질로도 확인됨.
•
새로운 모델의 학습 시간은 기존 방법에 비해 약 20% 감소하였으며, 이는 전체 시스템의 처리 속도를 향상시킴.
•
결론적으로 초해상화 기술의 유효성을 입증하였고, 이는 앞으로 고해상도 이미지 처리 분야에 광범위하게 적용 가능함을 보여줌.
활용 방안 및 기대효과
활용 방안
•
이 발명은 스마트폰, CCTV와 같은 장치에 적용되어 이미지의 초해상도 변환을 통해 품질을 향상시킬 수 있음. 이는 개인과 법인 모두에게 고해상도 이미지를 제공할 수 있는 유용한 도구로 작용 가능함.
•
초해상화 기술은 의료 영상 처리와 같은 전문 분야에도 활용 가능하며, 미세한 디테일을 식별하는 데 중요한 역할을 함. 이 기술은 기존의 이미지 분석 및 진단 시스템을 대체하거나 보완할 수 있음.
•
교육 및 연구 기관에서도 저해상도 영상 자료를 고해상도로 변환하여 실험과 분석의 정확성을 높이는 데 기여할 수 있음. 이는 교육의 효율성을 극대화하는 데 도움이 됨.
기대효과
•
발명은 디지털 이미지 처리 기술을 향상시켜 사용자에게 보다 선명하고 디테일한 이미지를 제공할 수 있음. 이로 인해, 사용자가 다양한 산업 분야에서 경쟁력을 높일 수 있음.
•
기술 도입으로 인한 경제적 효율성, 비용 절감 등의 장점이 있음. 초기 설치 비용은 높으나, 장기적으로는 운영 비용 절감이 예상됨.
•
본 발명은 기술 표준화에 기여할 수 있으며, 이미징 및 데이터 처리 분야에서 혁신적인 발전을 이끌 수 있음.
시장 동향
딥러닝 기반 이미지 처리 시장 동향
딥러닝 기반 이미지 처리 응용 분야
대표도면
인천대학교 산학협력단
(21999) 인천광역시 연수구 갯벌로 27(송도동) INU이노베이션센터 202호
본 메일은 마케팅 활용 동의서에 동의하신 회원님께 전송된 것입니다.
COPYRIGHT (c) 2026 Incheon National University. ALL RIGHT RESERVED.

