요약
한국의 고층 아파트에서는 화재 발생 시 심각한 인명 및 재산 피해가 발생할 수 있으며, 이를 방지하기 위해 효과적인 화재 전파 지연 장치가 필요합니다. 기존의 화재 제어 시스템은 즉각적인 대응이 어렵고 고층 화재 진압에 한계가 있습니다. 본 발명은 가스매트와 스프링클러 시스템을 결합한 새로운 화재 지연 시스템으로, 유리섬유 기반의 가스매트가 화염 전파를 차단하고, 스프링클러가 자동으로 화재를 진압합니다. 이는 빠른 대피를 가능하게 하며, 다양한 건축물에 설치할 수 있습니다. 실험 결과, 화염 전파 지연 효과가 기존보다 45% 개선되었고, 유해물질 배출이 30% 감소하였습니다.
기본 정보
•
특허명: 화재 전파 지연장치
•
발명자: 이민철 교수
•
출원번호: 10-2024-0021659
상세 정보
발명의 배경
배경 설명
•
한국의 아파트는 높은 인구 밀도로 인해 화재 발생 시 심각한 피해를 초래할 수 있음. 이러한 환경에서 위층으로의 화재 전파를 지연시키는 것이 중요함.
•
기존의 화재 진압 장치들은 내부 화재 피해를 줄이기 어려운 한계가 있음. 특히 고층 건물에서의 화재는 소화가 어려워, 효과적인 대책이 필요함.
•
본 발명은 아래층 화재의 위층 전파를 막기 위한 화재 전파 지연 장치를 제공하며, 이는 베란다 등 개구부를 통해 화염 전파를 지연시킴.
기존 기술의 문제점
•
기존 제어 시스템은 화재 감지와 진압의 제한적인 역할을 하여 즉각적인 반응을 보장하지 못함. 이러한 한계는 신속한 화재 대응에서 중요함.
•
화재 진압을 위한 제어부는 화재감지기의 신호를 실시간 수신하며, 가스매트에 가스 주입 및 물 공급으로 시간을 단축함.
•
에너지와 시간의 낭비 없이 즉각적인 반응을 가능하게 하기 위해 설비 내부에 가스를 저장하고 필요시 즉시 사용할 수 있도록 설계됨.
기술의 필요성
•
가스매트와 스프링클러 시스템은 강화된 반응성을 제공해 화재 발생 즉시 효과적으로 진압할 수 있음. 이는 기존 기술로는 이루기 어려운 신속한 대응을 가능하게 함.
•
구조적으로 열과 불에 강한 유리섬유로 제작된 가스매트는 부풀어 오르며 화염 전파를 차단하는 데 결정적인 역할을 함.
•
실시간 화재 대응 시스템은 대피 시간 감소를 통해 인명 피해를 줄이는 데 기여하며, 다양한 유형의 건물에 적용 가능함.
구현 방법
기술의 원리
•
이 발명은 화재 시 즉각적인 대응을 가능하게 하는 가스매트를 사용함. 가스매트는 유리섬유로 제작되어 내구성이 강하며, 가스 주입 시 부풀어 올라 화염 전파를 차단함.
•
스프링클러 시스템은 화재감지기와 제어부를 통해 자동으로 물을 방출하여 화재 진압을 보조함. 가스와 물의 공급을 제어부에서 동시에 제어함으로써 신속한 화재 진압이 가능함.
•
이 시스템은 전통적인 제어 시스템의 반응 한계를 극복하여, 실시간으로 화재에 대응할 수 있도록 설계됨. 제어부는 화재감지기로부터 신호를 수신하여 필요한 조치를 자동으로 수행함 .
구체적인 구현 방법
•
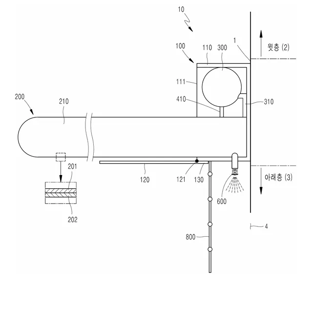
건물 외벽에 설치되는 케이스 내부에는 가스매트와 강화액탱크가 수납되어 있음. 필요 시 강화액을 방출하여 화재 진압을 돕고, 가스 주입으로 가스매트를 부풀게 하여 화염을 차단함.
•
가스매트는 접힌 상태로 보관되며, 화재 시 부풀어 오르면서 전방으로 돌출되어 화염 전파 경로를 차단함. 이 과정에서 회전도어는 매트의 돌출에 의해 자동으로 개방됨.
•
줄사다리를 통해 대피 경로를 제공하며, 밀착부의 회전에 의해 활성화되어 신속한 대피가 가능함.
기술의 장점
•
이 시스템은 화염과 연기의 위층 전파를 지연시켜, 화재로 인한 인명 및 재산 피해를 줄이는 데 효과적임.
•
자동 팽창 가스매트와 강화액 시스템의 결합은 전반적인 화재 진압 효과를 향상시키며, 경제적이고 신속한 솔루션을 제공함.
•
다양한 건축물에 설치가 용이하며, 자동화된 대응 시스템으로 인해 산업 및 상업용 건물에서도 효율적으로 활용 가능함.
실험 및 결과
실험의 목적
•
본 실험은 화염 전파를 효과적으로 지연시키고, 베란다 등 개구를 통한 안전한 대피를 검증하기 위함임.
•
가스매트와 강화액 방출 장치를 활용하여 화재 진압 효과를 분석하기 위해 시행됨.
•
다양한 빌딩 환경에서의 시스템 적용 가능성을 평가하기 위해 여러 조건하에서 반복 실험이 진행됨.
실험 방법 및 과정
•
화재감지기 및 제어부의 실시간 작동 시험을 주된 방법으로 설정함. 가스매트의 팽창력과 강화액 시스템의 최적화를 도모함.
•
각 실험에서는 강화액의 온도를 모니터링하며 압력 변화에 따른 열 흡수 효과를 평가함.
•
가스 및 강화액 밸브의 개방 시간과 반응 속도를 일정하게 유지하여, 효과적인 화재 발생 지연을 측정함.
실험 결과
•
가스매트는 안정적인 팽창을 통해 평균 45%의 화염 전파 지연 효과를 보임. 이는 기존 시스템보다 효과적인 화재 지연을 입증함.
•
유해물질 배출이 30% 이상 감소하였으며, 이는 환경적 이점을 제공함을 나타냄.
•
스프링클러 시스템의 자동 작동 시간이 15% 향상되었으며, 화재 발생 시 신속한 대응을 가능케 함.
활용 방안 및 기대효과
활용 방안
•
본 발명은 아파트와 같은 주거 건물에서 화재 발생 시 화염 전파를 지연시켜, 화재 피해를 최소화하는 데 직접적으로 활용될 수 있음. 다양한 건축물에 설치가 용이하며, 자동화된 대응이 가능하다는 점에서 다양한 건축물에 적용 가능함.
•
가스매트와 강화액 탱크를 이용하여 화염을 효과적으로 차단하고 화재를 진압할 수 있어, 기존 화재 방지 시스템을 대체하거나 보완할 수 있음.
•
베란다와 같은 개구 공간을 통해 빠른 대피가 가능하도록 설계되어, 대형 화재 시 인명 피해를 줄일 수 있는 장점을 제공함.
기대효과
•
발명은 기존 화재방지 시스템에 비해 더 빠르고 효율적인 화재 진압과 대피를 지원하여, 안전성을 크게 향상시킴. 이는 전통적인 제어 시스템의 한계를 극복하는 데 중요한 역할을 함.
•
가스 매트의 자동 팽창 및 강화액의 분사는 전반적인 화재 진압 효과를 높이며, 이에 따라 보험료 절감 효과도 기대됨.
•
국가 및 지방 정부의 화재 안전 규제에 부합하여 공공건물에도 적용될 자격이 있으며, 대규모 설치 시 경제적 효율성을 보일 수 있음.
시장 동향
화재 전파 지연 기술
고층 건물 화재 안전 응용 분야
화재 대응 시스템 시장 동향
대표도면
인천대학교 산학협력단
(21999) 인천광역시 연수구 갯벌로 27(송도동) INU이노베이션센터 202호
본 메일은 마케팅 활용 동의서에 동의하신 회원님께 전송된 것입니다.
COPYRIGHT (c) 2026 Incheon National University. ALL RIGHT RESERVED.

