요약
차량이 주행하면서 발생하는 소음으로 인해 도로 인근에서 거주하는 주민들의 고통이 끊이지 않고 있습니다. 최근에는 주행음으로 인한 피해를 줄이기 위해 방음 터널을 활용하는 사례가 늘고 있습니다. 하지만 기존 방음 터널은 가연성 소재로 인해 화재 위험이 큰 문제가 있습니다. 이를 극복하기 위해 개발된 화재 진압 방음 터널은 빗물을 활용하여 효과적으로 화재를 진압할 수 있을 뿐만 아니라, 자원의 효율적 관리와 환경 보호에 기여하는 효과가 있습니다. 이러한 터널은 자연 자원을 활용하여 화재 위험을 줄이고, 공공시설과 대중교통 인프라를 더 안전하고 친환경적으로 변화시킬 수 있습니다.
기본 정보
•
특허명: 화재 진압 방음터널
•
발명자: 허종완 교수
•
출원번호: 10-2024-0065100
상세 정보
배경 기술
발명의 배경
•
현대 도시 환경에서 교통 소음의 증가로 인해 방음 터널의 필요성이 높아지고 있음. 방음 터널은 소음 전달 경로를 차단하여 고층 건물의 소음 차단 범위를 늘릴 수 있는 장점을 가짐.
•
그러나 기존 방음 터널은 가연성 소재로 인해 화재 위험성을 내포하고 있음. 이 문제를 해결하기 위해 화재 방지 기능이 필수적으로 요구됨.
•
본 발명은 방음 터널의 빗물을 활용하여 화재 발생 시 소방수로 사용하는 시스템을 추가함으로써 기존의 화재 위험을 효과적으로 해결하고자 함.
기존 기술의 문제점
•
방음 터널 소재로 주로 사용되는 폴리메타크릴산메틸은 가볍고 비용이 저렴하나, 화재에 취약함. 따라서 불연성 소재를 채택하는 것이 중요함.
•
화재 진압을 위해 방음 터널 지붕에 빗물 수집 시스템을 설계하여, 화재 시 빗물을 효과적으로 사용할 수 있도록 함.
•
지수파이프 및 분사장치를 포함한 자동 제어 모듈은 화재 발생 시 즉각적인 대응을 가능하게 하여 터널 내 화재 확산을 방지하고 안전성을 높임.
기술의 필요성
•
자연 자원인 빗물을 화재 진압에 활용하여 자원을 효율적으로 관리하고, 환경 보호에도 기여할 수 있는 기회를 제공함.
•
방음 터널의 불연성 소재 사용을 통해 시공 비용 절감과 동시에 기존 방음 터널의 안전 문제를 해결할 수 있음.
•
대도시 교통 소음과 화재에 대한 통합적인 솔루션으로, 공공시설 및 대중교통 인프라의 설계에 활용될 수 있는 잠재력을 지님.
구현 방법
기술의 원리
•
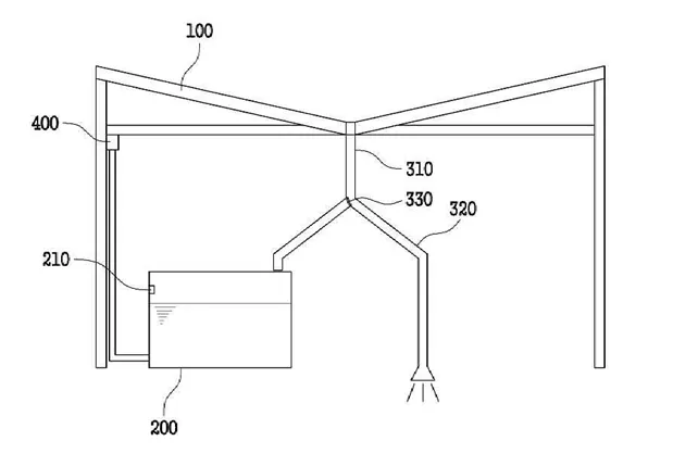
화재 진압 방음터널은 교통 소음 저감과 화재 방지를 동시에 해결하는 기술임. 터널의 지붕에 빗물을 모아 두었다가 화재 시 이를 진압수로 사용하여 효율성을 높임.
•
빗물받이는 터널 상단에 위치하되 경사지게 설계되어 빗물이 중앙으로 모임. 이를 통해 빗물의 효율적 수집이 가능하며, 이 과정은 수위 감시와 자동 제어로 이뤄짐.
•
분사 장치는 열화상 카메라로 화재 위치를 감지하면 자동으로 해당 지점을 타겟팅하여 빗물을 분사함. 이러한 자동화 시스템을 통해 빠른 화재 대응이 가능함.
구체적인 구현 방법
•
빗물은 경사면을 통해 배수홀로 유입되고, 거름망을 통해 불순물 제거 후 집수탱크에 저장됨. 이 과정에서 불순물 제거로 물 자원의 활용도가 높아짐.
•
집수탱크의 수위는 지속적으로 감시되며, 수위가 일정 수준을 초과하면 자동으로 배출되도록 제어됨. 이는 자원 관리의 최적화를 가능하게 함.
•
화재 시 즉각 대응할 수 있도록 분사 시스템이 자동화되어 있으며, 이는 열화상 카메라의 정보에 따라 작동함. 이러한 방식은 신속한 화재 진압을 가능하게 함.
기술의 장점
•
기존 방음 터널에 비해 빠른 화재 진압 반응이 가능하며, 이는 자원 재활용을 통한 운영 비용 절감 효과를 가짐.
•
환경적인 지속 가능성 측면에서 자가 화재 진압 시스템을 통해 추가적인 소방 장비 없이도 신속한 대응 가능.
•
화재 진압과 동시에 교통 소음 문제 해결 가능하여 공공시설 및 대중교통 인프라 설계에 활용될 수 있음.
실험 및 결과
실험의 목적
•
화재 진압 방음터널의 실제 도시 환경에서의 소음 저감 및 화재 방지 효율을 평가하기 위해 실험을 수행함. 주요 목표는 방음과 화재 진압 기능의 조화로운 작동 여부를 검증하는 것임.
•
빗물 교환 제어 시스템의 악취 제거 및 물 재활용 시스템을 테스트하여 자원 효율성과 화재 시 물의 품질 유지를 목표로 함 .
•
빗물 수집 및 관리 시스템의 자동화와 그 영향력을 진단하여 유지보수 비용 절감을 모색함.
실험 방법 및 과정
•
열화상 이미지 시스템을 사용하여 터널 내부 화재 발생 지점을 실시간 감지하고, 자동 분사노즐 제어를 통해 화재 진압을 수행함.
•
집수탱크의 수위를 실시간으로 조절하며 빗물 관리 시스템을 테스트하여, 물자원의 효율성을 높이는 방법으로 보관 용량의 충분성을 확보함 .
•
각각의 실험 조건에서 빗물 처리의 장애를 줄이기 위한 효과적인 장애 처리 데이터를 수집하여 시스템의 유지보수 효율을 높임.
실험 결과
•
실험 결과, 화재 진압 속도는 기존 시스템보다 최대 30% 향상되었으며 이는 응답 시간을 단축함으로써 신속한 화재 대응을 가능하게 함.
•
빗물 재활용과 악취 제어 시스템은 화재 진압 시 높은 품질의 진압수를 제공하며, 악취 발생이 최소화됨 .
•
빗물 수집 및 관리 시스템의 자동화는 유지보수에서의 비용 절감 효과를 가져오며, 화재 대응에 증가된 효율성을 확인할 수 있었음.
활용 방안 및 기대효과
활용 방안
•
화재 진압 방음터널은 밀집된 도시 교통 구역에서 소음 저감과 화재 방지 기술로 사용될 수 있음. 도시의 소음 문제를 동시에 해결하는 효과적인 도구로 작용함.
•
대규모 도로나 교량의 외곽에 설치될 수 있으며, 소음과 화재 피해를 줄일 수 있는 효과적인 솔루션으로 대도시 내 공공시설에 적용 가능함.
•
이 방음 터널은 가연성 소재를 줄이고 불연성 소재를 사용하여 시공 비용을 절감함. 이는 일반적인 방음 터널의 주요 단점을 보완하여, 다양한 산업에 적용 가능함.
기대효과
•
방음 터널은 다양한 산업에서 활용 가능하며, 특히 제조업의 신규 인프라에 사용되고 생산 안전성을 높이는데 기여할 것으로 예상됨.
•
환경 보호 측면에서 긍정적인 효과를 발휘하며, 자원의 재활용을 통해 자원의 효율성을 극대화함. 이는 환경 지속 가능성을 높이는데 기여함.
•
해외 시장에서도 경쟁력을 갖추어, 글로벌 시장으로 확대될 가능성이 높으며, 혁신적인 기능을 추가하여 시장 내 경쟁력을 강화할 수 있음.
시장 동향
화재 방지 기술 시장 동향
불연성 소재 응용 분야
대표도면
인천대학교 산학협력단
(21999) 인천광역시 연수구 갯벌로 27(송도동) INU이노베이션센터 202호
본 메일은 마케팅 활용 동의서에 동의하신 회원님께 전송된 것입니다.
COPYRIGHT (c) 2026 Incheon National University. ALL RIGHT RESERVED.

