요약
본 발명은 광전기화학 반응을 통해 수소를 효율적으로 생성하는 기술을 제공합니다. 이는 2차원 나노물질인 WS2를 포함하는 광음극층을 사용하여 이루어집니다. 이 기술은 기존의 비효율적인 수소생성 과정을 개선하고, 비싼 전기 촉매인 Pt를 대체할 수 있습니다. 실험은 이 시스템이 수소생성반응의 효율성을 크게 향상시키는 것을 확인하였습니다. 이 발명은 깨끗한 에너지 소스인 수소를 효율적으로 생산하는 데 활용될 수 있으며, 연료전지, 에너지 저장 시스템 등 다양한 분야에서의 활용이 가능합니다. 이를 통해 전체 광전기화학전지 시스템의 구현비용을 낮추고, 성능과 안정성이 크게 향상될 수 있습니다.
1. 기본 정보
•
기술명: 2차원나노물질을 포함하는 광음극층 기반 광전기화학전지 시스템 및 이의 제조방법
•
대표발명자: 전기공학과 김준동 교수
•
출원번호: 10-2023-0000480
2. 발명의 개요
•
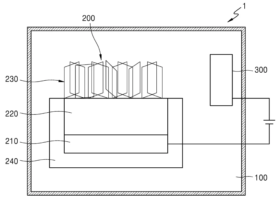
본 발명은 수소를 깨끗하게 생성하는 방법인 광전기화학반응을 효율적으로 수행하는 광전기화학전지 시스템과 그 제조 방법에 관한 것입니다. 이 시스템은 2차원 나노물질인 WS2를 포함하는 광음극층을 통해 수소생성반응을 촉진하며, 이를 통해 효율적인 수소생산이 가능합니다. 특히, 저렴하면서도 반응성이 높은 WS2 나노플레이트렛이 수직으로 배열되어 광음극층을 형성함으로써, 전하 이동이 용이하고 광흡수율이 높아집니다. 따라서 이 시스템은 수소생성반응의 효율성을 크게 향상시킬 수 있습니다.
3. 발명의 필요성
•
현재 수소는 깨끗한 에너지 소스로서 큰 주목을 받고 있습니다. 그러나 수소를 광전기화학 반응으로 생성하는 과정은 비효율적이며, 이 과정에서 사용되는 전기 촉매인 Pt와 같은 금속은 비싸고 희소합니다. 또한, 2차원 나노물질을 이용한 기존의 방법은 전하 수송 불량, 재결합, 계면 결함 등의 문제로 촉매 성능이 떨어집니다. 이런 문제를 해결하기 위해, 효율적인 수소생성을 가능하게 하는 새로운 기술이 필요합니다.
4. 실험 및 구현
•
본 발명에서는 2차원 나노물질인 WS2를 포함하는 광음극층을 통해 수소생성반응을 촉진하는 광전기화학전지 시스템을 제안하였습니다. 실험을 통해 이 시스템이 수소생성반응의 효율성을 크게 향상시키는 것을 확인하였습니다. 특히, WS2 나노플레이트렛이 수직으로 배열되어 광음극층을 형성함으로써, 전하 이동이 용이하고 광흡수율이 높아짐을 확인하였습니다.
5. 발명의 활용 방안
•
이 발명은 깨끗한 에너지 소스인 수소를 효율적으로 생산하는 데 사용될 수 있습니다. 특히, 태양광을 이용한 수소생성반응, 즉 그린에너지 솔루션에 크게 기여할 수 있습니다. 또한, 이 기술은 연료전지, 에너지 저장 시스템 등 다양한 분야에서 활용될 수 있습니다.
6. 발명의 효과
•
본 발명을 통해 수소생성반응의 효율성을 크게 향상시킬 수 있습니다. 특히, WS2를 포함하는 광음극층은 저렴하면서도 반응성이 높아 전체 광전기화학전지 시스템의 구현비용을 낮출 수 있습니다. 또한, WS2 나노플레이트렛의 수직 배열은 전하 이동을 향상시키고 광흡수율을 높여, 더욱 효율적인 수소생성이 가능합니다. 이로 인해 광전기화학전지 시스템의 성능과 안정성이 크게 향상될 수 있습니다.
7. 대표도면
인천대학교 산학협력단
(21999) 인천광역시 연수구 갯벌로 27(송도동) INU이노베이션센터 202호
본 메일은 마케팅 활용 동의서에 동의하신 회원님께 전송된 것입니다.
COPYRIGHT (c) 2023 Incheon National University. ALL RIGHT RESERVED.

