요약
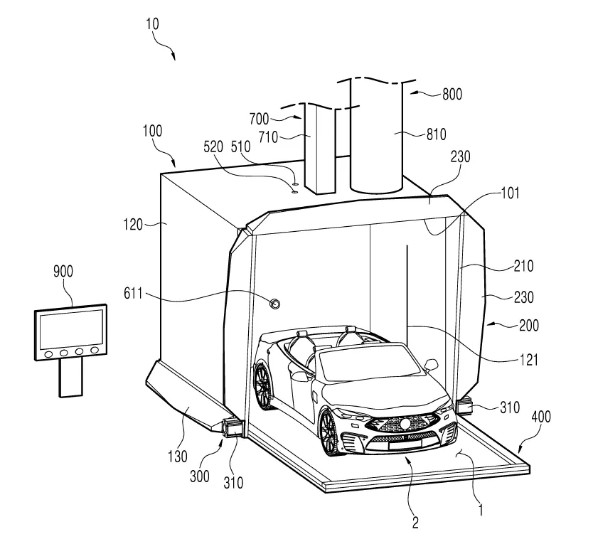
"전기차 화재진압 시스템"은 전기차 화재를 신속하게 대응하고 완전히 진압할 수 있는 시스템입니다. 전기차의 화재 센서가 화재를 감지하면 천막부와 도어부가 주차 구역을 완전히 덮어 차량을 격리 공간에 가두고, 이 공간에 물을 주입한 후 설정 수위를 초과하는 물을 배수하여 화재를 신속하게 진압합니다. 이 시스템은 주차장, 충전소, 판매점 등 전기차가 주차되는 모든 곳에 설치될 수 있으며, 화재로 인한 인적·물적 피해를 최소화하고, 유독 가스를 안전하게 배출하는 등의 효과가 있습니다.
1. 기본 정보
•
기술명: 전기차 화재진압 시스템
•
대표발명자: 안전공학과 이민철 교수
•
출원번호: 10-2023-0016938
2. 발명의 개요
•
"전기차 화재진압 시스템"은 전기차 화재 발생 시 신속한 초기 대응 및 전기차 화재 완전 진압을 가능하게 하는 시스템입니다. 화재 센서가 화재를 감지하면, 천막부와 도어부가 주차 구역 전체를 덮어 차량을 격리 공간에 가두며, 이 격리 공간에 물을 주입하고, 설정 수위를 초과하는 물을 배수하여, 주차장에서의 전기차 화재를 신속하게 대응하고 완전히 진압할 수 있습니다. 또한, 유독 가스를 안전하게 배출하고, 격리 공간에 급수된 물의 누수를 차단하여 전기차 화재로 인한 인적·물적 피해를 최소화하는데 기여합니다.
3. 발명의 필요성
•
전기차의 보급이 증가함에 따라 전기차 화재 사고도 늘어나고 있습니다. 전기차 화재는 리튬 이온 배터리의 고온 화염으로 인해 소화 작업이 일반적인 자동차 화재보다 시간과 인력, 비용이 많이 소요됩니다. 현재 전기차 화재에 대한 초기 대응은 개인이 혼자서 하기 어렵고, 특히 실내 주차장에서 화재가 발생한 경우 신속한 초기 대응이 어려운 문제가 있습니다. 따라서 주차된 전기차의 화재 발생 시 신속한 초기 대응 및 전기차 화재의 완전 진압이 가능한 시스템이 필요합니다.
4. 실험 및 구현
•
본 발명의 전기차 화재진압 시스템은 화재 센서가 화재를 감지하면, 천막부와 도어부가 주차 구역 전체를 덮어 차량을 격리 공간에 가두며, 이 격리 공간에 물을 주입하고, 설정수위를 초과하는 물을 배수하여, 주차장에서의 전기차 화재를 신속하게 대응하고 완전히 진압할 수 있습니다. 또한, 유독 가스를 안전하게 배출하고, 격리 공간에 급수된 물의 누수를 차단하여 전기차 화재로 인한 인적·물적 피해를 최소화할 수 있습니다.
5. 발명의 활용 방안
•
이 전기차 화재진압 시스템은 주차장, 전기차 충전소, 전기차 판매점, 공공 장소 등 전기차가 주차되는 모든 곳에 설치될 수 있습니다. 이 시스템은 전기차의 화재를 신속하게 진압하고, 주차장 내의 다른 차량으로 화재 확산을 막는 등의 다양한 활용 가능성을 제시합니다.
6. 발명의 효과
•
본 발명의 전기차 화재진압 시스템을 도입하면, 전기차 화재 발생 시 신속한 초기 대응 및 전기차 화재의 완전 진압이 가능해집니다. 이로 인해 주차장에서의 전기차 화재로 인한 인적·물적 피해를 최소화할 수 있습니다. 또한, 이 시스템은 유독 가스를 안전하게 배출하고, 격리 공간에 급수된 물의 누수를 차단하여 화재로 인한 추가적인 피해를 방지하는 데 기여합니다.
7. 대표도면
인천대학교 산학협력단
(21999) 인천광역시 연수구 갯벌로 27(송도동) INU이노베이션센터 202호
본 메일은 마케팅 활용 동의서에 동의하신 회원님께 전송된 것입니다.
COPYRIGHT (c) 2023 Incheon National University. ALL RIGHT RESERVED.

