요약
도로 안전을 위한 새로운 가드레일 시스템이 개발되었습니다. 이 시스템은 차량 충돌 시 전복을 방지하고 충격을 흡수하는 기능을 통합하였으며, 상단 부분은 구부러지고 하단에는 스프링 장치가 장착되어 있습니다. 충격 흡수 부분은 압축되는 스프링을 포함하여 에너지를 흡수하고, 파괴되는 부품은 추가적인 충격 흡수 기능을 제공합니다. 이 혁신은 도로의 안전성을 강화하고 인명 피해를 감소시키며, 유지 보수가 용이하고 경제적인 이점을 제공합니다.
기본 정보
•
특허명: 전복방지 가드레일
•
대표 발명자: 허종완 교수
•
출원번호: 10-2023-0116979
발명의 배경 및 필요성
가드레일 기술의 진화
•
초기 간단한 금속 장벽 형태의 가드레일은 차량 동력학과 충돌 에너지 관리에 대한 이해가 깊어지면서 1960년대 W-빔 가드레일로 발전하였음
•
기존 가드레일은 저속 충돌에는 효과적이나 고속 충돌 시 차량이 장벽을 뚫거나 예측 불가능한 방향으로 튕겨나가는 문제가 있음
•
연방 고속도로 관리청(FHWA)은 가드레일 관련 사고가 심각하며, 충돌 각도와 차량 속도, 유형에 따라 사고의 심각성이 달라진다고 보고함
가드레일 혁신의 중요성
•
새로운 가드레일 디자인은 차량 전복을 방지하고 전복 사고로 인한 사망률과 중대한 부상의 위험을 줄이는 데 중점을 둠
•
세계보건기구(WHO)는 도로 교통 사고로 인한 사망자가 매년 약 135만 명에 달하며, 특히 5-29세 사이에서 도로 교통 부상이 주요 사망 원인임을 지적함
•
가드레일 기술의 혁신은 도로 이탈 사고의 결과를 완화하고, 증가하는 교통량과 안전한 도로 인프라에 대한 수요에 부응하는 필수적인 조치임
구현방법
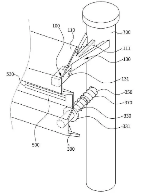
기술의 원리 및 구현
•
차량 충돌 시 전복을 방지하고 충격을 흡수하는 가드레일 기술로, 상단 부분은 아래로 구부러지며 하단에는 스프링 장치가 장착되어 있음
•
전복 방지 부분은 차량이 접촉 시 회전하며 내려가고, 지지대에 연결된 상단 플레이트는 곡선형 삽입 부분을 통해 아래로 회전 가능함
•
충격 흡수 부분은 압축되는 스프링을 포함하고 있으며, 충격 시 스프링이 압축되어 에너지를 흡수한 후 원상태로 복귀함
•
충격 시 파괴되는 부품이 추가적인 충격 흡수 기능을 제공하며, 반사체는 야간에 가드레일의 가시성을 높임
기술의 장점
•
전복 방지와 충격 흡수 기능을 통합한 가드레일 설계로 충격 흡수 효과가 우수함
•
안전 충돌 부분과 반사체를 통해 승객의 안전과 가드레일의 가시성을 동시에 향상시킴
•
다수의 충돌 후에도 재사용 가능하여 경제적이고 유지 보수가 용이함
활용 방안 및 기대효과
교통 인프라 안전성 강화
•
도로의 가드레일 시스템에 적용되는 이 발명은 차량 충돌 시 안전성을 높이고, 전복 방지 및 충격 완화를 통해 인명 피해를 감소시키는 기능을 함
•
모듈식 설계로 인해 손상된 부분을 쉽게 교체할 수 있어 유지보수 비용과 시간을 절약함
가드레일 시스템의 효과적 기능
•
충돌 에너지 분산 기능을 통해 차량과 탑승자에게 더 낮은 충격을 전달하고, 교통사고의 심각성을 줄임
•
경제적인 인프라 유지관리 혜택과 함께 도로 안전 표준 향상 및 사회적 가치 증진이 기대됨
기술 SWOT 분석
Strengths
전복 방지 및 충격 흡수 기능
•
차량 충돌 시 전복을 방지하고 충격을 효과적으로 흡수하는 기능이 통합된 가드레일 설계로 안전성이 뛰어납니다.
재사용 가능성 및 유지 보수의 용이성
•
다수의 충돌 후에도 재사용이 가능하며, 모듈식 설계로 인해 손상된 부분을 쉽게 교체할 수 있어 유지 보수 비용과 시간을 절약합니다.
야간 가시성 향상
•
반사체를 통해 야간에 가드레일의 가시성을 높여 추가적인 안전성을 제공합니다.
Weaknesses
고비용의 기술적 복잡성
•
혁신적인 기능을 갖춘 가드레일은 제조 및 설치 과정에서 기술적 복잡성이 높으며, 이로 인해 초기 비용이 증가할 수 있습니다.
유지 보수 및 교체 부품의 특수성
•
모듈식 설계로 유지 보수가 용이하나, 특수 부품 교체 시 해당 부품의 가용성이 제한될 수 있습니다.
Opportunities
교통 인프라 안전성 강화
•
도로의 가드레일 시스템에 적용되어 차량 충돌 시 안전성을 높이고, 인명 피해를 감소시키는 기능을 제공합니다.
도로 안전 표준 향상 및 사회적 가치 증진
•
충돌 에너지 분산 기능을 통해 교통사고의 심각성을 줄이고, 경제적인 인프라 유지관리 혜택과 함께 도로 안전 표준을 향상시키며 사회적 가치를 증진시킬 수 있습니다.
Threats
기존 가드레일 시스템과의 경쟁
•
기존의 간단하고 저렴한 가드레일 시스템과의 경쟁에서 비용 및 복잡성 측면에서 불리할 수 있습니다.
규제 및 표준화의 변화에 따른 적응 필요성
•
새로운 기술의 도입은 규제 및 표준화의 변화를 수반하며, 이에 따른 적응과정이 필요합니다.
Summary
Strengths
•
전복 방지 및 충격 흡수 기능을 통합한 가드레일 설계로 안전성이 뛰어나며, 재사용 가능성과 유지 보수의 용이성이 강점입니다.
Weaknesses
•
고비용의 기술적 복잡성과 특수 부품의 가용성 문제가 존재합니다.
Opportunities
•
교통 인프라 안전성 강화와 도로 안전 표준 향상을 통한 사회적 가치 증진이 기대됩니다.
Threats
•
기존 가드레일 시스템과의 경쟁과 규제 및 표준화의 변화에 따른 적응 필요성이 있습니다.
대표도면
인천대학교 산학협력단
(21999) 인천광역시 연수구 갯벌로 27(송도동) INU이노베이션센터 202호
본 메일은 마케팅 활용 동의서에 동의하신 회원님께 전송된 것입니다.
COPYRIGHT (c) 2026 Incheon National University. ALL RIGHT RESERVED.

