요약
제약 산업의 약물 개발 과정에서 중요한 지표인 결합 친화도를 빠르고 정확하게 예측하는 인공지능 기술이 개발되었습니다. 이 기술은 약물의 화학 구조와 단백질의 아미노산 시퀀스 정보를 기반으로, RDKit을 통해 약물 구조를 그래프로 변환하고, 그래프 컨볼루션 네트워크(GCN) 및 컨볼루션 신경망(CNN)을 활용하여 학습합니다. 이를 통해 약물과 단백질 간의 결합 가능성을 예측하며, 잔차 연결과 역전파 기법을 적용해 모델의 정확도를 높였습니다. 이 기술은 실험실 테스트를 대체하여 약물 후보 물질의 스크리닝과 최적화 과정을 가속화하고, 개인 맞춤형 의약품 개발에 필수적인 정보를 제공함으로써, 의약품 연구 및 개발의 시간과 비용을 절감하고, 의료 서비스의 질을 향상시킬 것으로 기대됩니다.
기본 정보
•
특허명: 인공지능을 이용하여 약품과 단백질 간의 결합 친화도를 예측할 수 있는 전자 장치 및 그 동작 방법
•
대표 발명자: 최대진 교수
•
출원번호: 10-2023-0109986
발명의 배경 및 필요성
제약 산업의 중요성과 과제
•
제약 산업은 건강 관리 분야에서 중요한 역할을 하며, 새롭고 효과적인 약물 개발을 위해 다양한 질병에 대항하는 연구가 지속적으로 이루어짐
•
약물 개발 과정은 특정 질병과 연관된 단백질을 표적으로 하여, 그 증상 또는 원인을 완화하는 화합물을 찾는 복잡한 과정임
•
'결합 친화도'는 약물이 몸 속 특정 단백질과 얼마나 잘 결합하는지를 나타내는 지표로, 약물의 효능을 예측하는 데 중요함
결합 친화도 측정의 혁신 필요성
•
제약 산업의 발전을 위해 약물 발견 과정의 가속화, 비용 절감, 그리고 환자에게 더 빠르게 효과적인 치료법을 제공하기 위해 결합 친화도 측정 방법의 효율화가 필요함
•
결합 친화도 측정의 혁신은 약물 연구 및 개발의 폭넓은 혁신 추세에 포함되며, 컴퓨터를 이용한 약물 설계, 고속 스크리닝, 맞춤 의학 등 다양한 분야에 영향을 미침
•
약물 개발 과정에서 결합 친화도의 이해 및 측정은 약물의 효과성과 환자 안전성을 보장하는 데 필수적임
•
이러한 기술 발전은 제약 산업이 건강 관리 결과를 개선하고 질병 치료의 복잡한 도전 과제를 해결하려는 노력의 일환임
구현방법
기술의 원리 및 효과
•
인공지능을 활용해 약물과 단백질 간의 결합 친화도를 예측하는 기술로, 약물 개발에 있어 중요한 척도임
•
기존 실험 방법에 비해 시간과 비용을 절약하며 빠르고 경제적으로 예측이 가능함
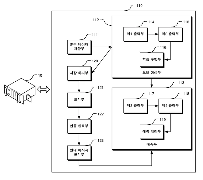
AI 기반 예측 모델 구축
•
SMILES 형식의 약물 화학 구조와 아미노산 시퀀스의 단백질 정보를 AI 학습 데이터로 활용함
•
RDKit 소프트웨어로 약물 구조를 그래프로 변환하고 인공신경망을 통해 학습함
•
GCN과 CNN을 이용해 약물과 단백질의 벡터 정보를 분석하고 결합 친화도를 예측함
•
예측 모델은 사용자 인증을 거쳐 접근 가능하며, 비밀번호 생성 및 확인 과정을 포함함
•
잔차 연결과 역전파 기법을 적용해 인공지능 모델의 오차를 최소화하고 성능을 향상시킴
기술의 장점
•
실험실 테스트 없이 약물의 효과를 신속하게 예측할 수 있어 약물 개발 과정을 가속화함
•
컴퓨터 프로그램 형태로 구현되어 다양한 컴퓨터 시스템에서 사용이 가능함
활용 방안 및 기대효과
기술 활용 분야
•
이 발명은 의약품 개발에 AI를 활용하여 약물과 단백질 간 결합을 예측, 연구 속도를 향상시키는 데 기여함
•
새로운 약물 후보 물질의 스크리닝과 최적화에 활용되어 효과적인 치료제 발견에 기여함
•
개인 맞춤형 의약품 처방에 필요한 정보를 제공, 환자별 최적의 치료법 선별에 사용될 수 있음
•
AI 모델의 보안 강화로 데이터 보호 및 안전한 사용을 보장함
기대되는 효과
•
의약품 연구 및 개발 기간 단축을 통한 기술적 혁신 달성
•
치료제 개발의 정확도와 효율성 향상으로 의약품 시장에서의 경쟁력 강화
•
개인 맞춤형 치료법 실현으로 사회적 가치 창출 및 의료 서비스 질의 장기적 향상 기대
기술 SWOT 분석
Strengths
인공지능을 활용한 결합 친화도 예측
•
인공지능을 이용하여 약물과 단백질 간의 결합 친화도를 신속하고 정확하게 예측할 수 있습니다.
•
기존 실험 방법에 비해 시간과 비용을 절약하며, 약물 개발 과정을 효율적으로 가속화할 수 있습니다.
고도화된 AI 예측 모델
•
SMILES 형식의 약물 화학 구조와 아미노산 시퀀스 정보를 활용하여 고도화된 AI 모델을 구축하였습니다.
•
잔차 연결과 역전파 기법을 적용하여 인공지능 모델의 오차를 최소화하고 성능을 향상시켰습니다.
시장 동향
의약품 시장 동향
Weaknesses
모델의 복잡성
•
고도의 기술적 지식이 필요하여 일반 사용자가 접근하기 어려울 수 있습니다.
데이터 의존성
•
정확한 예측을 위해서는 대량의 고품질 학습 데이터가 필요합니다.
Opportunities
의약품 개발의 가속화
•
AI 기술을 통해 의약품 개발 속도를 향상시키고, 새로운 치료제 발견에 기여할 수 있습니다.
개인 맞춤형 의약품
•
환자별 최적의 치료법을 선별하는 데 필요한 정보를 제공하여 개인 맞춤형 의약품 처방에 활용될 수 있습니다.
Threats
기술적 변화에 대한 적응
•
빠르게 변화하는 기술 환경에 적응하기 위한 지속적인 연구 및 개발이 필요합니다.
데이터 보안 문제
•
민감한 의약품 데이터를 다루기 때문에 보안 문제가 중요한 위협 요소가 될 수 있습니다.
Summary
종합적인 시각
•
이 기술은 약물 개발 과정의 시간과 비용을 절감하고, 의약품 연구 및 개발의 효율성을 향상시키는 장점이 있습니다.
•
모델의 복잡성과 데이터 의존성은 약점으로 작용할 수 있으나, 의약품 개발의 가속화와 개인 맞춤형 의약품 개발이라는 기회를 통해 의료 서비스의 질을 향상시킬 수 있습니다.
•
기술적 변화에 대한 빠른 적응과 데이터 보안 문제 해결은 이 기술이 직면한 주요 위협입니다.
대표도면
인천대학교 산학협력단
(21999) 인천광역시 연수구 갯벌로 27(송도동) INU이노베이션센터 202호
본 메일은 마케팅 활용 동의서에 동의하신 회원님께 전송된 것입니다.
COPYRIGHT (c) 2026 Incheon National University. ALL RIGHT RESERVED.


