요약
반도체 산업에서 메모리 칩의 품질을 확보하고 테스트 비용을 절감하기 위해 Bitline Open Short Test(BOST) 방법이 중요해지고 있습니다. 이에 따라, 메모리 검사 장비의 타이밍 정확도를 높이기 위한 스큐 보정 기술이 개발되었습니다. 본 발명은 읽기 및 쓰기 시 발생하는 시간 지연, 즉 스큐 문제를 해결하기 위해 보상 처리 장치를 도입하여 메모리 칩 간의 데이터 동기화를 달성합니다. 실험 결과는 스큐 보정 기능이 데이터 신호의 동기화를 향상시키고, 메모리 칩의 데이터 기록 정확성을 높이는 데 기여함을 입증하였습니다. 이 기술은 메모리 테스트의 정확성을 강화하고, 전자기기의 품질 보증 및 시장 경쟁력을 강화하는 데 중요한 역할을 할 것으로 기대됩니다.
기본 정보
•
특허명: BOST 기반의 메모리 검사 장비를 위한 스큐 보상을 수행하는 보상 처리 장치
•
대표 발명자: 송준영 교수
•
출원번호: 10-2023-0089590
발명의 배경 및 필요성
반도체 테스트의 중요성
•
반도체 산업에서 메모리 칩의 품질 관리와 테스트는 필수적인 과정임
•
DRAM, SRAM, 플래시 메모리 등의 생산 과정에서 Bitline Open Short Test(BOST) 방법이 개발되었으며, 메모리 칩의 복잡성 증가로 인해 제조 결함의 가능성이 높아지고 있음
•
전통적인 테스트 방법은 대량 생산에 적합하지 않기 때문에, BOST와 같은 효율적인 테스트 방법이 필요함
효율적인 테스트 방법의 필요성
•
메모리 칩의 신뢰성과 기능성을 확보하기 위해 BOST 방법이 필요하며, 이를 통해 공정 속도를 높이고 단위당 비용을 줄일 수 있음
•
시그널 타이밍 차이(스큐)로 인한 테스트 정확도 저하 문제를 해결하고, 정교한 타이밍 제어 및 데이터 분석 알고리즘 개발이 요구됨
•
3D NAND 플래시 및 새로운 비휘발성 메모리 기술의 발전에 따라 테스트 방법도 지속적으로 진화해야 함
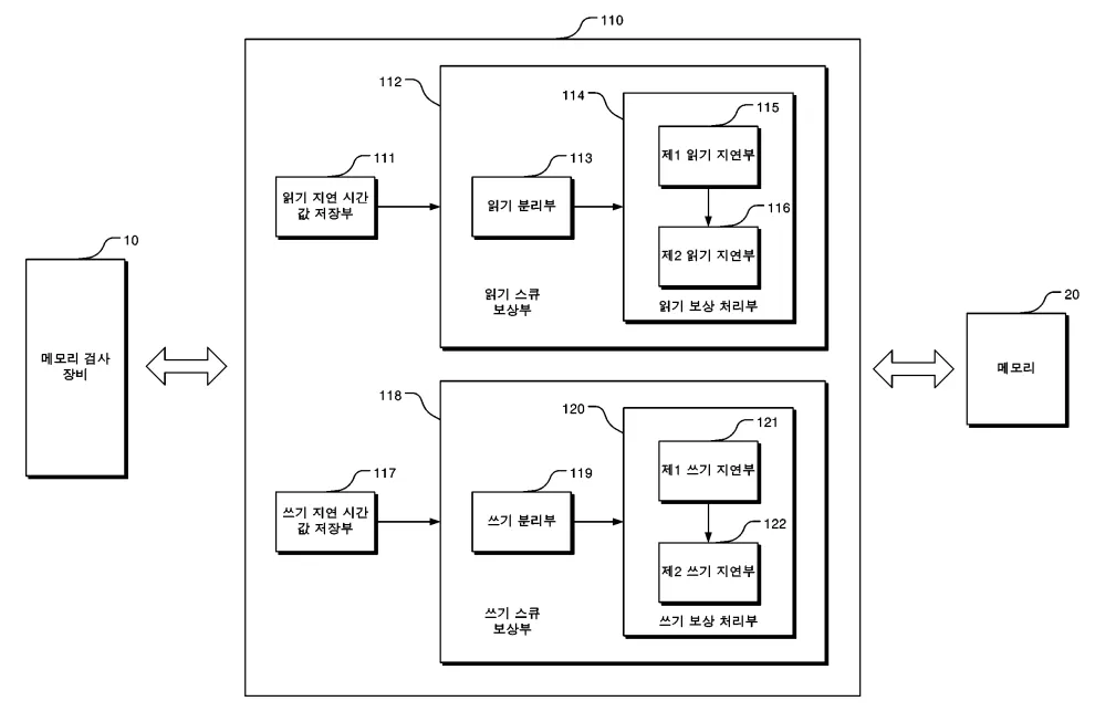
구현방법
기술의 원리 및 구현
•
메모리 검사는 메모리 칩의 작동 여부를 확인하는 과정임
•
스큐 문제는 메모리의 데이터 읽기나 쓰기 시 발생하는 시간 지연을 말함
•
본 발명은 메모리 검사 장비에 스큐를 보정하는 보상 처리 장치를 추가하여 시간 지연 문제를 해결함
•
보상 처리 장치는 읽기 및 쓰기 지연시간 값을 UI(Unit Interval)로 측정하고, 이를 조정하여 스큐를 보정함
•
지연시간 값은 정수부와 소수부로 구분되며, 각각의 지연을 조절해 데이터의 동기화를 달성함
기술의 장점
•
메모리 검사의 정확성을 향상시키고, 칩 성능 검사 시 발생하는 시간 지연 문제를 해결함
•
다양한 메모리 칩에서 데이터를 동기화하여 읽고 쓸 수 있게 함
•
쓰기 스큐 보상부를 통해 데이터 기록 시의 시간 지연도 조정 가능함
발명의 활용 방안
메모리 테스트의 정확성 강화
•
메모리 장치의 신호가 테스트 장비에 동시에 도착하도록 조정하여 정확한 타이밍에 신호를 수신함
•
다양한 메모리 장치를 테스트할 때 지연 시간을 조절해 신호 동기화를 달성함
•
데이터 쓰기 시간의 정밀한 조정을 통해 데이터 전송 정확도를 높이고 메모리 성능을 향상시킴
기대효과
기술 혁신과 시장 경쟁력 강화
•
기존 메모리 테스트의 한계를 극복하고 테스트 장비의 정확성과 신뢰성을 높이는 혁신을 도모함
•
정확한 메모리 테스트를 통해 전자기기의 품질을 보증하고 시장 점유율을 확대할 수 있음
사회적 기여도 향상
•
스마트폰, 컴퓨터 등 일상에 필수적인 전자기기의 오류 감지 및 예방에 기여함
•
메모리 장치의 안정적인 작동을 보장하여 전자기기의 사용 안정성을 사회 전반에 걸쳐 향상시킴
시장 동향
반도체 시장 동향
인공지능용 메모리 시장 동향
기술 SWOT 분석
Strengths
메모리 검사의 정확성 향상
•
스큐 보정 기능을 통해 메모리 칩의 데이터 동기화를 달성하고, 테스트의 정확성을 높입니다.
다양한 메모리 칩 적용 가능
•
다양한 메모리 칩에 대한 읽기 및 쓰기 지연시간 값을 조정하여 신호 동기화를 이루어냅니다.
시간 지연 문제 해결
•
쓰기 스큐 보상부를 통해 데이터 기록 시의 시간 지연 문제를 해결하여 칩 성능 검사의 정확도를 향상시킵니다.
Weaknesses
정교한 타이밍 제어 필요성
•
시그널 타이밍 차이를 해결하기 위해 정교한 타이밍 제어 및 데이터 분석 알고리즘이 필요합니다.
지속적인 기술 진화 요구
•
3D NAND 플래시 및 새로운 비휘발성 메모리 기술의 발전에 따라 테스트 방법의 지속적인 진화가 요구됩니다.
Opportunities
신뢰성 및 기능성 확보
•
BOST 방법을 통해 메모리 칩의 신뢰성과 기능성을 확보하고, 공정 속도를 높이며 단위당 비용을 줄일 수 있는 기회가 있습니다.
시장 경쟁력 강화
•
정확한 메모리 테스트를 통해 전자기기의 품질을 보증하고 시장 점유율을 확대할 수 있는 기회가 있습니다.
Threats
기존 테스트 방법과의 경쟁
•
전통적인 테스트 방법과의 경쟁에서 BOST 방법이 우위를 점하기 위한 지속적인 기술 혁신이 필요합니다.
기술 진화에 따른 적응 필요
•
메모리 기술의 빠른 발전에 따라 테스트 방법도 지속적으로 적응하고 진화해야 하는 위협이 있습니다.
Summary
Strengths
•
메모리 검사의 정확성을 향상시키고, 다양한 메모리 칩에 적용 가능하며, 시간 지연 문제를 해결합니다.
Weaknesses
•
정교한 타이밍 제어와 지속적인 기술 진화가 필요합니다.
Opportunities
•
메모리 칩의 신뢰성과 기능성 확보와 시장 경쟁력 강화의 기회가 있습니다.
Threats
•
기존 테스트 방법과의 경쟁과 기술 진화에 따른 적응이 필요합니다.
대표도면
인천대학교 산학협력단
(21999) 인천광역시 연수구 갯벌로 27(송도동) INU이노베이션센터 202호
본 메일은 마케팅 활용 동의서에 동의하신 회원님께 전송된 것입니다.
COPYRIGHT (c) 2026 Incheon National University. ALL RIGHT RESERVED.


