요약
이 발명은 딥러닝을 이용하여 그래픽 모델의 메쉬 구조를 세분화하는 전자 장치와 그 동작 방법을 제시합니다. 현재의 3D 그래픽 모델링은 복잡한 메쉬 구조 세분화에 많은 시간과 노력을 필요로 하지만, 이 발명을 통해 그 과정이 간소화되며 정확도가 향상됩니다. 실험을 통해 이 방법이 효과적임을 확인하였으며, 이 발명은 3D 그래픽 모델링, 게임 개발, 가상현실, 인공지능, 로봇공학 등 다양한 분야에서 활용 가능합니다. 사용자는 이를 통해 더욱 빠르고 정확하게 그래픽 모델을 생성할 수 있어, 그래픽 모델링의 효율성과 품질이 크게 향상될 것입니다.
1. 기본 정보
•
기술명: 딥러닝을 기반으로 그래픽 모델을 구성하는 메쉬 구조의 세분화를 수행할 수 있는 전자 장치 및 그 동작 방법
•
대표발명자: 컴퓨터공학부 김지범 교수
•
출원번호: 10-2023-0038782
2. 발명의 개요
•
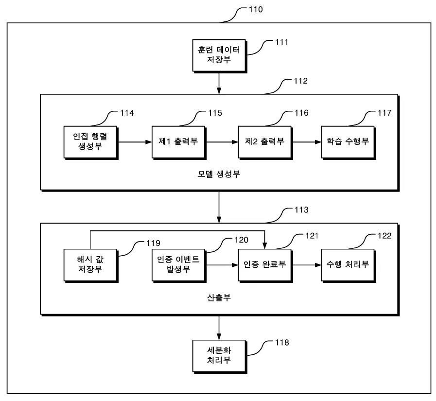
본 발명은 딥러닝을 활용하여 그래픽 모델을 구성하는 메쉬 구조를 세분화하는 전자 장치와 그 동작 방법에 관한 것입니다. 메쉬 구조는 그래픽 모델을 표현하는 데 널리 사용되는 방식으로, 세분화하는 것은 모델의 특성을 더 상세하게 반영할 수 있습니다. 이 발명은 복수의 훈련용 그래픽 모델과 레이블링 벡터를 이용하여 메쉬 구조를 세분화하는 방법에 대한 학습 모델을 생성합니다. 사용자가 새로운 그래픽 모델을 입력하면, 이 모델은 학습 모델을 기반으로 각 정점에 대한 신규 정점의 생성 위치를 산출합니다. 이를 통해 사용자는 보다 편리하게 그래픽 모델을 구성하는 메쉬 구조의 세분화를 수행할 수 있게 되는 것입니다.
3. 발명의 필요성
•
현재 3D 그래픽 모델링 분야에서는 메쉬 구조를 이용하여 복잡한 모델을 구성하고 있습니다. 하지만 이 메쉬 구조를 세분화하려면 많은 시간과 노력이 필요하며, 세분화된 메쉬 구조가 원래 모델의 특성을 정확하게 반영하는 것은 어렵습니다. 이런 문제를 해결하기 위해 딥러닝을 활용한 메쉬 구조의 세분화 방법이 필요합니다.
4. 실험 및 구현
•
본 발명에서는 복수의 훈련용 그래픽 모델과 레이블링 벡터를 이용하여 메쉬 구조를 세분화하는 방법에 대한 학습 모델을 생성하였습니다. 사용자가 새로운 그래픽 모델을 입력하면, 이 모델은 학습 모델을 기반으로 각 정점에 대한 신규 정점의 생성 위치를 산출합니다. 이 방법을 통해 실제로 메쉬 구조의 세분화가 효과적으로 이루어짐을 확인하였습니다.
5. 발명의 활용 방안
•
이 발명은 3D 그래픽 모델링, 게임 개발, 가상현실, 인공지능, 로봇공학 등 다양한 분야에서 활용될 수 있습니다. 특히, 더 복잡하고 세밀한 그래픽 모델을 빠르고 효과적으로 생성하는 데 큰 도움이 될 것으로 예상됩니다.
6. 발명의 효과
•
본 발명을 통해 사용자는 더 편리하게 그래픽 모델을 구성하는 메쉬 구조의 세분화를 수행할 수 있게 되었습니다. 따라서 모델링 시간을 크게 줄이고, 더욱 상세하고 정밀한 그래픽 모델을 생성할 수 있게 되어, 그래픽 모델링의 효율성과 품질을 크게 향상시킬 수 있습니다.
7. 대표도면
인천대학교 산학협력단
(21999) 인천광역시 연수구 갯벌로 27(송도동) INU이노베이션센터 202호
본 메일은 마케팅 활용 동의서에 동의하신 회원님께 전송된 것입니다.
COPYRIGHT (c) 2023 Incheon National University. ALL RIGHT RESERVED.

