요약
최근 지능형 교통 시스템(ITS) 연구의 일환으로, 가시광 통신(VLC)을 이용한 차량 간 통신 기술이 주목받고 있습니다. 이 기술은 차량 전면부에 탑재된 장치를 통해 전방 차량의 위치에 따라 지향성 광신호를 전송할 수 있게 합니다. 발광부, 카메라, 위치 획득 및 검출부로 구성된 이 장치는 기존 통신 방식의 한계를 극복하고 통신 효율성을 크게 향상시킵니다. 이는 교통 혼잡 해소, 사고 감소, 에너지 절약에 기여할 뿐만 아니라, 자율 주행 차량 기술 발전에도 핵심적인 역할을 할 것으로 기대됩니다.
기본 정보
•
특허명: 전방 차량의 위치에 따라 지향성 광신호를 전송할 수 있는 차량용 신호 전송 장치 및 그 동작 방법
•
발명자: 전현채 교수
•
출원번호: 10-2022-0115312
•
등록번호: 10-2612593
상세 정보
발명의 배경과 필요성
•
최근 교통안전, 교통 혼잡 및 공해와 같은 문제를 해결하기 위해 지능형 교통 시스템(ITS)에 대한 연구가 활발히 진행되고 있음.
•
특히, 차량 간의 원활한 통신을 가능하게 하는 기술 중 하나로 가시광 통신(VLC)이 주목받고 있음.
◦
가시광 통신은 LED를 광원으로 하여, 광원의 깜빡임을 이용하여 정보를 전달하는 원리임.
•
기존의 차량 간 통신 방식에서는 후방 번호판에 탑재된 수신기가 뒤차에서 방사되는 광신호를 수신함으로써, 신호 전송 방향을 조정할 수 있는 기술이 부족했음.
◦
신호 전송 효율이 저하될 수 있음.
구현방법
기술의 원리
•
차량 간의 가시광 통신 시스템에서 전방 차량의 위치에 따라 지향성 광신호를 전송할 수 있는 차량용 신호 전송 장치임.
•
이 장치는 차량의 전면부에 탑재되어 가시광 통신을 위한 광신호를 방사하고 그 방향을 조정할 수 있도록 구성됨.
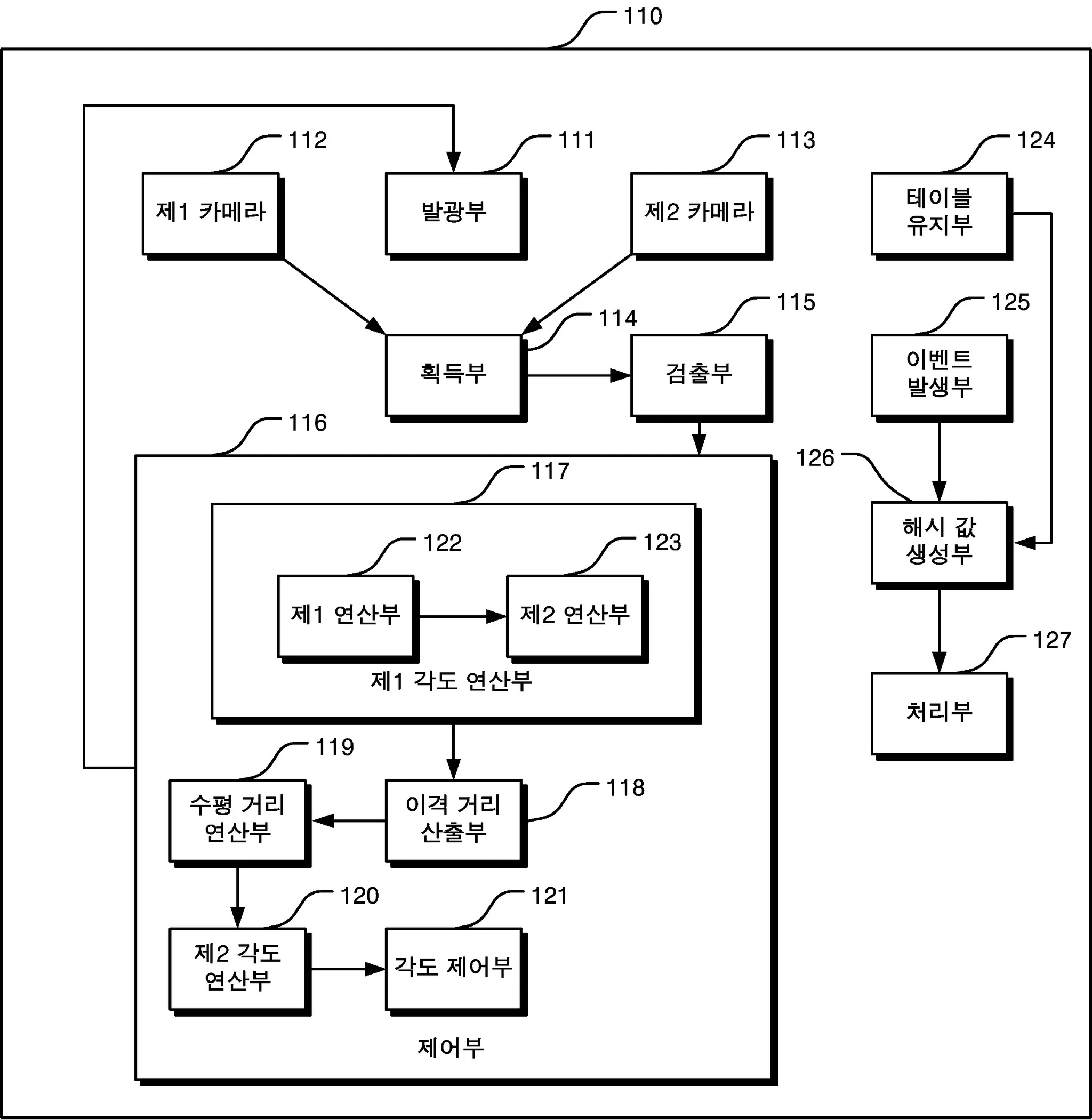
구체적인 구현 방법
•
장치의 주요 구성 요소:
◦
발광부: 광신호를 방사하며 그 방향을 수평 및 수직으로 조정함.
◦
두 개의 카메라: 각각 좌우에 배치되어 전방을 촬영하여 차량의 후방 번호판 위치를 파악함.
◦
위치 획득 및 검출부: 제어부는 촬영된 이미지를 분석하여 발광부의 광신호 방사 각도를 조정함.
발명의 활용 방안
•
교통 시스템의 효율성을 높이는 데 활용될 수 있음:
◦
예를 들면, 커넥티드 카 기술에서 차량 간의 실시간 정보 공유를 통해 교통 혼잡을 줄이고, 사고 발생 시 신속한 대응이 가능함.
•
자율 주행 차량의 정확한 위치 추적 및 통신에 필수적인 기술로 활용될 수 있음:
◦
특히, 광신호를 이용한 통신은 기존의 무선 통신 방식보다 간섭이 적어 보다 안전하고 안정적인 통신 환경을 제공함.
기대효과
•
차량 간의 통신 효율성을 크게 향상시킬 수 있음:
◦
기존의 방식보다 더 정확한 신호 전송이 가능하며, 이는 교통사고 감소 및 교통 혼잡 해소에 기여할 수 있음.
•
에너지 절약:
◦
LED를 이용한 통신 방식은 기존의 무선 통신 방식보다 에너지 소모가 적음.
•
자율 주행 차량 도입 증가에 따른 핵심 기술로 자리잡을 수 있음:
◦
이는 국가 차원에서 교통 관리 시스템을 혁신적으로 변화시킬 가능성이 큼.
대표도면
인천대학교 산학협력단
(21999) 인천광역시 연수구 갯벌로 27(송도동) INU이노베이션센터 202호
본 메일은 마케팅 활용 동의서에 동의하신 회원님께 전송된 것입니다.
COPYRIGHT (c) 2026 Incheon National University. ALL RIGHT RESERVED.

