요약
"폐의약품 수거 장치"는 안전하게 폐의약품을 수거하고 자동으로 분류해주는 장치로, 환경 오염을 방지하고 사용자 편의성을 향상시킵니다. 이 기술은 소비자의 부주의한 폐의약품 처리로 인한 환경 문제를 해결하고, 분류작업의 번거로움을 줄여줍니다. 이 장치는 보건소, 약국, 병원, 노인 요양시설, 약학대학 등에서 활용될 수 있으며, 폐의약품 관리 서비스를 제공하는 스타트업의 사업 기회를 창출할 수 있습니다. 이 장치는 안전한 폐의약품 처리, 사용자 편의성 향상, 효율적인 폐의약품 관리라는 세 가지 가치를 동시에 제공하며, 폐의약품 관리 전반에 대한 새로운 패러다임을 제시합니다.
1. 기본 정보
•
기술명: 폐의약품 수거 장치
•
대표발명자:도시환경공학부 이도균 교수
•
출원번호: 10-2023-0027550
2. 발명의 개요
•
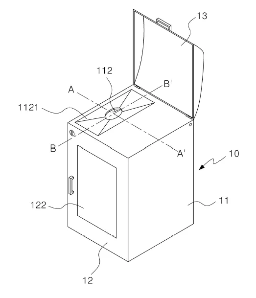
"폐의약품 수거 장치"는 사용하지 않거나 유효기간이 지나 사용할 수 없는 의약품을 안전하게 수거하고 분류하는 장치입니다. 이 장치는 폐의약품을 종류별로 분류하고, 일정량 이상이 모이면 수거를 요청하는 기능을 가지고 있습니다. 장치에는 하우징 모듈, 분류 모듈, 수납 모듈, 카메라 모듈 및 제어 모듈이 포함되어 있습니다. 카메라 모듈은 의약품의 종류를 판별하며, 제어 모듈은 판별된 의약품의 종류에 따라 분류 모듈을 제어하여 해당 의약품을 적절한 수납공간으로 이동시킵니다. 이 장치를 통해 폐의약품은 자동으로 분류되고 수납되어, 안정적이고 효율적인 폐의약품 처리가 가능해집니다. 이는 사용자의 편의성을 향상시키며, 토양 오염 및 수질 오염을 방지하는 데 도움이 됩니다.
3. 발명의 필요성
•
현재 폐의약품 처리는 대개 개인의 부주의와 안일한 사고방식에 의해 이루어지며, 이로 인해 토양 오염 및 수질 오염이 발생하고 있습니다. 또한, 전문 처리 업체를 통한 폐의약품 수거는 보건소, 약국, 주민센터 등에 설치된 수거함을 이용하지만, 이러한 수거함은 단순히 폐의약품을 모으는 역할만 하므로, 폐기자가 직접 의약품의 종류에 따라 분류해야 하는 불편함이 있습니다. 따라서, 이러한 문제점을 해결하고자 폐의약품을 종류에 따라 자동으로 분류하고 수거 요청을 할 수 있는 폐의약품 수거 장치가 필요합니다.
4. 실험 및 구현
•
폐의약품 수거 장치는 내부로 투입된 의약품의 종류를 카메라 모듈을 통해 인식하고, 그 종류에 따라 서로 다른 수납공간에 분류하여 수납하는 기능을 가지고 있습니다. 이를 통해 폐의약품은 자동으로 분류되고 수납되어, 안정적이고 효율적인 폐의약품 처리가 가능해집니다.
5. 발명의 활용 방안
•
폐의약품 수거 장치는 보건소, 약국, 주민센터 등의 공공 장소 뿐 아니라, 약품을 많이 사용하는 병원, 노인 요양시설, 약학대학 등에서도 활용될 수 있습니다. 또한, 이 기술을 활용하여 폐의약품 관리 서비스를 제공하는 스타트업 등의 사업 기회를 창출할 수 있습니다.
6. 발명의 효과
•
이 기술은 폐의약품의 안전한 처리를 통해 환경 보호에 기여하며, 자동 분류 기능을 통해 사용자의 편의성을 향상시킵니다. 또한, 폐의약품이 일정량 이상 모이게 되면 자동으로 수거를 요청하는 기능을 통해 효율적인 폐의약품 관리가 가능합니다. 이로써, 폐의약품 수거 장치는 환경 문제 해결과 사용자 편의성 개선, 그리고 효율적인 폐의약품 관리라는 세 가지 가치를 동시에 제공하며, 이는 단순히 폐의약품을 수거하는 것을 넘어 폐의약품 관리 전반에 대한 새로운 패러다임을 제시합니다.
7. 대표도면
인천대학교 산학협력단
(21999) 인천광역시 연수구 갯벌로 27(송도동) INU이노베이션센터 202호
본 메일은 마케팅 활용 동의서에 동의하신 회원님께 전송된 것입니다.
COPYRIGHT (c) 2023 Incheon National University. ALL RIGHT RESERVED.

