요약
본 발명은 지구온난화 문제 해결을 위해 이산화탄소를 포집하는 혁신적인 콘크리트 구조물을 제안합니다. 탄산화 양생법으로 제작된 코어 콘크리트와 일반 양생법으로 형성된 코팅 콘크리트, 그리고 외곽의 철근 보강부로 구성된 복합구조물입니다. 이 기술은 기존 탄산화 양생법의 철근 부식 문제를 해결하고, 구조물의 내구성을 크게 향상시킵니다. 프리캐스트 콘크리트, 건설 현장, 고속도로, 교량 등 다양한 인프라 프로젝트에 활용 가능하며, 이산화탄소 포집을 통해 환경 보호와 경제적 이점을 동시에 제공합니다. 이는 정부의 탄소 중립 정책에 대응하고, 친환경적이고 경제적인 건설 방법으로 새로운 시장 기회를 창출할 것으로 기대됩니다.
기본 정보
•
특허명: 이산화탄소 포집형 복합콘크리트 구조물
•
발명자: 장정국 교수
•
출원번호: 10-2021-0164419
•
등록번호: 10-2620833
상세 정보
발명의 배경과 필요성
•
세계적으로 철강 및 시멘트의 지속적인 생산과 화석 발전의 지속적인 운용에 따라 이산화탄소 등의 온실가스가 점차 누적되어 지구온난화에 큰 영향을 미치고 있음. 이로 인해, 산업 부산물을 친환경적으로 재활용하거나 이산화탄소를 포집, 활용 내지 저장하는 기술(CCS)이 중요한 해결책으로 떠오르고 있음.
•
탄산화 양생법으로 제작된 콘크리트는 기존의 수화반응 외에 특정 압력 하에서 시멘트 성분과 이산화탄소를 촉진 반응시켜 양생하는 기술임. 이 기술은 콘크리트의 내구성을 크게 향상시킬 수 있지만, 기존 철근을 사용할 경우 철근의 급격한 부식 문제가 발생함.
•
따라서 철근 콘크리트 구조물에 탄산화 양생법을 적용할 때 발생하는 문제를 해결할 필요가 있음. 이산화탄소를 포집하는 철근 보강 복합 콘크리트를 개발하면, 프리캐스트나 시공 현장에서도 폭넓게 적용 가능함
구현방법
기술의 원리
•
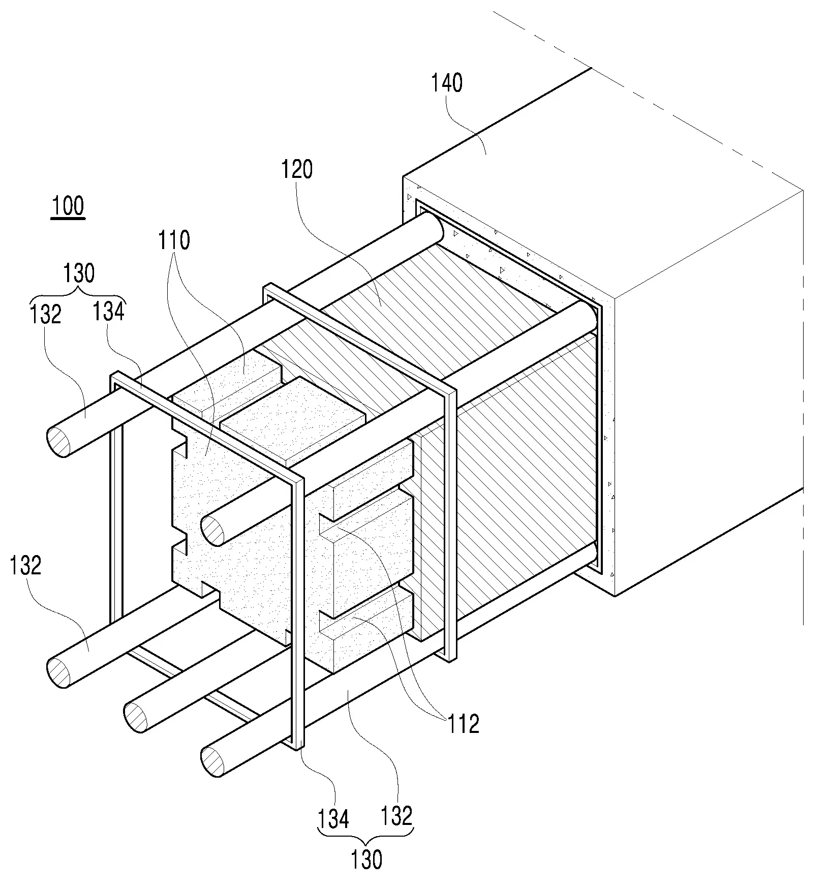
본 발명은 이산화탄소를 포집하는 탄산화 양생법에 의해 제작된 코어 콘크리트와, 그 둘레에 일반 양생법으로 형성된 코팅 콘크리트로 구성된 복합구조물을 제안함. 이 구조물의 외곽에는 철근이 배근된 보강부가 배치되어 탄산화 양생법에서의 철근 부식을 방지함으로써 강성을 유지함.
구체적인 구현 방법
•
코어 콘크리트: 모래, 자갈, 시멘트풀, 다양한 혼화제와 탄산화를 촉진하는 첨가제를 혼합한 후 거푸집에 투입하여 직육면체 형상으로 타설함. 이후 밀폐된 탄산화 양생 챔버에서 이산화탄소 농도를 일정하게 유지하며 7일에서 14일 동안 경화함.
•
코팅 콘크리트: 코어 콘크리트 경화 후, 코어 콘크리트의 표면에 일반 양생법으로 코팅 콘크리트를 둘러싸게 타설함. 이 때 철근을 배근하여 구조적 강화가 가능하도록 설계함.
•
보호 콘크리트: 코팅 콘크리트 둘레에 보호 콘크리트를 타설하여 외부 침투를 방지함. 탄산화 양생법으로 보호 콘크리트를 경화시키며, 이 과정에서 특정 온도 범위에서 상변화 가능한 물질을 포함하여 온도 저항성을 증대시킴.
발명의 활용 방안
•
본 발명의 이산화탄소 포집형 복합콘크리트 구조물은 프리캐스트 콘크리트, 건설 현장, 고속도로, 교량 등의 다양한 인프라 프로젝트에 활용될 수 있음. 이 기술은 구조물의 내구성을 강화하고, 기존의 철근 부식 문제를 해결하여, 장기간 안정적인 구조물을 제공함.
•
산업 부산물을 재활용하고, 이산화탄소를 포집하여 사용함으로써 환경 보호와 동시에 경제적 이점을 제공할 수 있음. 특히 에너지 효율이 높은 구조물 건설이 필요로 하는 모든 산업 분야에서 유용하게 활용될 것으로 기대됨.
기대효과
•
이산화탄소를 포집하여 지구온난화 문제 해결에 기여할 수 있음. 탄산화 양생법을 통해 제작된 콘크리트는 내구성이 높아져 유지보수 비용 감소와 함께 긴 수명을 보장할 수 있음.
•
철근을 사용한 보강이 가능해져 다양한 콘크리트 구조물에 폭넓게 적용할 수 있음. 이는 건설 비용 절감과 동시에 친환경적인 건설 방법으로 평가될 것임.
•
장기적으로는 정부의 탄소 중립 정책에 대응하는 데 도움이 되며, 이산화탄소 포집 기술을 상용화함으로써 새로운 시장 기회와 관련 분야의 발전을 촉진할 수 있음.
대표도면
인천대학교 산학협력단
(21999) 인천광역시 연수구 갯벌로 27(송도동) INU이노베이션센터 202호
본 메일은 마케팅 활용 동의서에 동의하신 회원님께 전송된 것입니다.
COPYRIGHT (c) 2026 Incheon National University. ALL RIGHT RESERVED.

