요약
서랍형 정수 시스템은 서랍 공간이 형성된 메인 바디와 오염수를 정화시키는 서랍형 필터 모듈로 구성된 혁신적인 정수 장치입니다. 이 시스템은 다양한 필터를 수용하며, 손쉽게 교체 가능하도록 설계되어 있습니다. 또한, 태양광 패널을 이용한 전력 공급이 가능하여 전력 인프라가 부족한 지역에서도 사용할 수 있습니다. 경제적이고 환경친화적인 솔루션으로, 가정용, 산업용 및 이동식 정수 시스템에 광범위하게 활용될 수 있습니다.
기본 정보
•
특허명: 서랍형 정수 시스템
•
발명자: 이도균 교수
•
출원번호: 10-2020-0032423
•
등록번호: 10-2529589
상세 정보
발명의 배경과 필요성
•
정수기 등 물 관련 산업의 글로벌 시장 규모는 2019년 7000억 달러에서 2022년까지 연평균 4% 이상의 성장을 보일 것으로 전망됨. 물 부족 국가인 우리나라는 정수를 위한 설비시설을 확보하는 것이 중요함. 정수기는 수돗물이나 약수와 같은 자연수를 여과・흡착・이온교환・살균하기 위한 장치로, 원수 내 입자, 휘발성 유기 물질, 이온 또는 미생물 등을 제거하는 기능을 가짐.
•
국내 가정용 정수기는 4단계 또는 5단계 정수처리 시스템을 적용하고 있으며, 각 단계는 침전 필터, Pre-carbon필터, 멤브레인 필터 또는 post-카본 필터로 구성되어 있고, 5단계는 세라믹 필터를 마지막 단계에 추가하여 구성됨. 정수기에 사용되는 필터 중 외관 하우징, 입상 활성탄 필터를 제외한 나머지 필터들은 매립 또는 소각 방법으로 폐기되며, 연간 폐필터 폐기 비용은 12억원에 이름.
•
폐활성탄의 경우 재활용이 활발히 이루어지고 있으나, 최근 활성탄과 폴리에틸렌을 혼합하여 제조한 카본블록형 필터는 전량 폐기되고 있음. 국내에서는 정수기에서 사용된 폐 분리막의 재사용을 위한 복원기술 또는 재생기술에 대한 연구가 전무한 상황임.
구현방법
기술의 원리
•
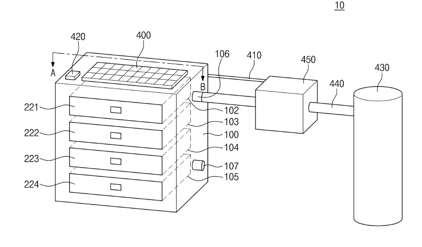
본 발명인 서랍형 정수 시스템은 서랍 공간이 형성된 메인 바디와 서랍 공간에 삽입되어 오염수를 깨끗한 물로 정화시키는 서랍형 필터 모듈로 구성됨. 서랍형 필터 모듈에는 정수 필터와 필터가 삽입되는 수용 공간이 포함됨.
•
서랍형 정수 시스템의 수용 공간은 복수 개로 형성되어 병렬 배치되고, 유입 유로와 배출 유로를 통해 각각의 수용 공간과 연결됨. 이는 바이패스 유로를 통해 서로 다른 유입 유로와 배출 유로 사이의 압력 분산을 가능하게 함.
구체적인 구현 방법
•
유입구로 오염수가 들어오면, 서랍형 필터 모듈을 통해 정수가 이루어지며, 배출구로 깨끗한 물이 나오게 설계됨. 서랍형 바디는 유입 유로와 배출 유로를 갖추고 있으며, 다양한 필터를 수용 가능함. 필터 모듈은 손쉽게 교체 가능하며, 재활용 가능하도록 설계되어 있어 환경 오염을 최소화함.
•
태양광 패널을 이용한 전력 공급이 가능하여, 전력 인프라가 부족한 지역에서도 사용 가능함. 이는 서랍형 정수 시스템의 이동성과 독립성을 보장함.
•
필터 내부에는 다양한 흡착과 여과 기법이 적용될 수 있으며, 이를 통해 미세 오염물질까지 제거 가능함. 필터 교체는 서랍형 구조로 쉽게 접근 가능하게 설계되어 유지보수가 용이함.
발명의 활용 방안
•
서랍형 정수 시스템은 가정용 정수기, 산업용 정수 시스템, 이동식 정수 시스템 등 다양한 분야에 적용 가능함. 특히 전력 공급이 어려운 농촌이나 개발도상국에서도 태양광 패널을 이용하여 전력 문제를 해결할 수 있음.
•
다양한 필터 모듈을 사용해 특정 오염물질을 타겟으로 한 정수가 가능하므로, 산업 폐수 처리와 같은 특수한 용도에서도 활용 가능할 것임.
•
필터의 재활용이 가능하므로, 경제적이고 환경친화적인 정수 솔루션으로 기대됨. 이는 기존 정수 시스템보다 유지비용이 적게 들고, 폐기물 관리 비용도 절감시킬 수 있음.
기대효과
•
서랍형 정수 시스템은 기존 정수 기술의 한계를 뛰어넘어, 경제적이고 환경친화적인 정수 솔루션을 제공함. 필터의 재활용을 통해 연간 폐필터 관리 비용을 절감할 수 있고, 정수 효율을 높이며, 다양한 오염물질을 제거하는 기능을 제공함.
•
전력 공급이 어려운 지역에서도 태양광 패널을 통해 독립적인 전력 공급이 가능하여, 정수 시스템 보급을 확대할 수 있음. 이는 농촌 및 개발도상국 등에서도 깨끗한 물을 공급할 수 있는 중요한 수단이 될 것임.
•
서랍형 구조로 인해 필터 교체 및 유지보수가 용이하고, 이는 유지비용 절감과 사용자 편리성 증대로 이어짐. 따라서 산업 현장에서도 사용이 용이하며, 전반적인 운영비 절감 효과를 기대할 수 있음.
대표도면
인천대학교 산학협력단
(21999) 인천광역시 연수구 갯벌로 27(송도동) INU이노베이션센터 202호
본 메일은 마케팅 활용 동의서에 동의하신 회원님께 전송된 것입니다.
COPYRIGHT (c) 2026 Incheon National University. ALL RIGHT RESERVED.

