요약
기계와 전자 장치의 과열 문제를 해결하기 위해 나선형 코일 튜브와 가이드 베인을 통한 새로운 냉각 시스템이 개발되었습니다. 이 시스템은 냉각수의 흐름을 최적화하여 열 전달을 극대화하고, 다양한 냉각 요구에 맞춰 열전달 속도를 조정할 수 있습니다. 공간 제약이 큰 환경에서도 효율적인 냉각이 가능하여, 컴퓨팅 하드웨어, 전력 변환 장치, 자동차 엔진 등 다양한 산업 분야에 적용될 수 있습니다. 이로 인해 장비의 수명 연장과 에너지 절약이 가능하며, 온실가스 감축에도 기여할 것으로 기대됩니다.
기본 정보
•
특허명: 가이드 베인이 구비된 냉각수 재킷
•
대표 발명자: 방민호 교수
•
출원번호: 10-2023-0156591
발명의 배경 및 필요성
냉각 기술의 발전과 현대적 도전
•
내연기관 발명 이후, 엔진 및 전동기의 발열 관리가 중요한 과제로 부상함
•
냉각 원리는 초기에 확립되었으나, 자동차 산업의 발전과 전기차 보급 확대로 냉각 시스템의 효율성과 복잡성이 증가함
•
전통적인 공랭식 및 수랭식 방식에 방한제를 첨가하는 액체 냉각 등 다양한 방법이 도입됨
•
현대 기계의 공간 제약과 불균등한 냉매 흐름으로 인한 비효율적 냉각과 에너지 손실 문제가 발생함
효율적인 냉각 시스템에 대한 증대된 수요
•
컴팩트하고 경량화된 효율적인 냉각 시스템에 대한 수요가 증가함
•
상태 변화 물질이나 고급 열 파이프 기술 등 새로운 냉각 기술이 필요함
•
전통적인 냉각 시스템의 한계를 극복하고, 효율성과 성능을 향상시킬 수 있는 기술 혁신이 필요함
•
비효율성을 개선하고 현대 기계의 발전된 요구사항을 충족시키기 위한 냉각 기술 개발이 중요함
구현방법
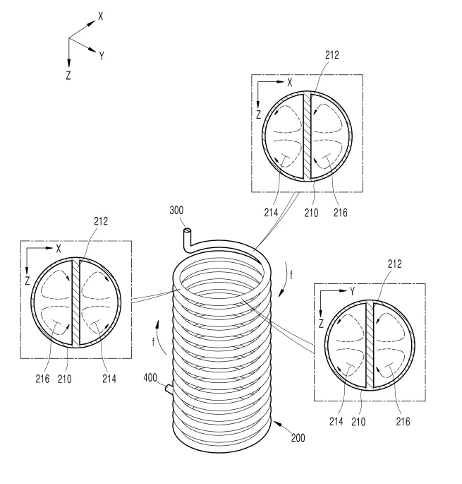
기술의 원리 및 구현
•
가이드 베인을 활용해 냉각수의 흐름을 조절하고, 나선형 코일 튜브를 통과하는 냉각수로 소용돌이와 난류를 생성하여 기계 내부의 열을 효과적으로 냉각함
•
주요 구성은 주 순환부, 냉각수 공급부, 배출부로 이루어져 있으며, 냉각 대상 주변에 냉각 채널을 형성함
•
메인 튜브는 나선형 구조로 설계되어 냉각 대상 주변을 냉각수가 순환하도록 하며, 가이드 베인은 내부에 설치되어 냉각수의 경로를 분리하고, 원심력에 수직으로 배치되어 순환을 돕게 됨
•
다중 베인 개념을 적용해 냉각 채널을 여러 경로로 나누고, 개방형 슬릿을 통해 이들 경로가 서로 연결되도록 설계하여 냉각 효율을 향상시킴
•
냉각 대상과 목적에 따라 냉각수의 경로, 크기, 종류 및 속도를 조정할 수 있음
기술의 장점
•
가이드 베인을 이용한 냉각수 흐름 제어로 냉각 효율을 극대화함
•
열전달 속도를 조정하여 다양한 냉각 요구에 부응함
•
공간 제약이 있는 엔진이나 전동기 등에 적용 가능해 냉각 공간 활용도를 높임
•
복잡한 흐름 패턴을 생성하여 열 교환 효율을 증대시킴
발명의 활용 방안
다양한 산업 분야에의 적용 가능성
•
이 발명은 기계나 전자 장치의 냉각 효율을 향상시키는 데 직접 사용될 수 있으며, 특히 공간 제약이 있는 환경에서 더 높은 냉각 효과를 제공함
•
컴퓨팅 하드웨어, 전력 변환 장치, 자동차 엔진 등 다양한 산업 분야에 적용되어 장치의 수명을 연장하고 에너지를 절약하여 경제적 비용을 절감함
발명의 기대 효과
기술 혁신과 시장 경쟁력
•
복잡한 경로를 따라 흐르는 냉각수와 Dean 와류 현상을 활용한 가이드 베인을 통해 기술적 혁신을 이루고 냉각 효과를 극대화함
•
제한된 공간에서도 우수한 냉각 성능을 제공함으로써 시장에서의 경쟁력을 강화할 수 있음
사회적 및 환경적 영향
•
장비의 과열을 방지하여 안전성을 향상시키고, 장기적으로 에너지 효율성을 증진시켜 온실가스 감축에 기여함
시장 동향
자동차 산업 시장 동향
기술 SWOT 분석
Strengths
냉각 효율 극대화
•
가이드 베인을 활용한 냉각수 흐름 제어로 냉각 효율을 극대화합니다.
•
열전달 속도 조정으로 다양한 냉각 요구에 부응합니다.
•
공간 제약이 있는 환경에도 적용 가능하여 냉각 공간 활용도를 높입니다.
기술 혁신과 시장 경쟁력
•
복잡한 경로와 Dean 와류 현상을 활용하여 기술적 혁신을 이루고 시장 경쟁력을 강화합니다.
Weaknesses
구조적 복잡성
•
다중 베인과 복잡한 흐름 패턴으로 인해 설계 및 제조 과정이 복잡할 수 있습니다.
유지보수의 어려움
•
나선형 코일 튜브와 다중 경로 구조로 인해 유지보수가 어려울 수 있습니다.
Opportunities
산업 분야의 확장
•
컴퓨팅 하드웨어, 전력 변환 장치, 자동차 엔진 등 다양한 산업 분야에 적용 가능합니다.
에너지 효율성 증진
•
장비의 수명 연장과 에너지 절약으로 경제적 비용을 절감하고 온실가스 감축에 기여할 수 있습니다.
Threats
기존 냉각 시스템과의 경쟁
•
시장에 이미 존재하는 전통적인 냉각 시스템과의 경쟁에서 밀릴 수 있습니다.
기술적 변화에 대한 적응
•
새로운 냉각 기술의 등장으로 지속적인 기술 개발과 업데이트가 필요합니다.
Summary
Strengths
•
냉각 효율을 극대화하고 다양한 냉각 요구에 부응하며, 기술 혁신을 통해 시장 경쟁력을 강화합니다.
Weaknesses
•
구조적 복잡성과 유지보수의 어려움이 존재합니다.
Opportunities
•
다양한 산업 분야로의 확장 가능성과 에너지 효율성 증진을 통한 경제적 이익이 기대됩니다.
Threats
•
기존 냉각 시스템과의 경쟁과 기술적 변화에 대한 적응이 필요합니다.
대표도면
인천대학교 산학협력단
(21999) 인천광역시 연수구 갯벌로 27(송도동) INU이노베이션센터 202호
본 메일은 마케팅 활용 동의서에 동의하신 회원님께 전송된 것입니다.
COPYRIGHT (c) 2026 Incheon National University. ALL RIGHT RESERVED.


