요약
지진 활동이 잦은 지역에서 중요 인프라의 안전을 보장하는 것은 필수적입니다. 이에 따라, 연구팀은 파이프라인을 보호하기 위한 '지진 공기 압축 파이프 지지대'를 개발하였습니다. 이 기술은 공기 스프링과 롤러를 활용하여 수직 및 수평 진동을 효과적으로 감소시키는 진동 절연기와 높이 조절기로 구성되어 있습니다. 이를 통해 지진으로부터 파이프라인을 보호하고, 인프라의 안전성을 향상시키며, 재난 대비 및 복구 비용을 절감하는 등의 혜택을 제공할 것으로 기대됩니다.
기본 정보
•
특허명: 내진용 압축 공기식 배관 받침대
•
대표 발명자: 허종완 교수
•
출원번호: 10-2023-0108301
발명의 배경 및 필요성
내진 기술의 발전
•
지진 활동이 잦은 지역에서 내진 기술은 필수적인 공학 분야로 자리 잡았으며, 고대 그리스와 터키의 건축가들도 이를 인식하여 건물에 내진 기능을 포함시켰음
•
20세기에 들어서면서 건축 규정과 표준의 도입으로 내진 공학이 본격적으로 발전하기 시작했으며, 현대에는 기초 분리 시스템과 에너지 소산 장치 등을 통해 건물이 지진파의 에너지를 효과적으로 흡수하고 분산시킬 수 있게 됨
내진 설계의 중요성
•
구조물은 지진 시 수직 및 수평 진동에 견딜 수 있도록 설계되어야 하며, 특히 수평 진동은 파이핑 시스템과 같은 중요 인프라에 치명적인 영향을 줄 수 있음
•
파이핑 시스템을 수평 진동으로부터 보호하는 새로운 방법은 지진 발생 시 구조물과 시스템의 안전을 보장하고 서비스 중단을 최소화하여 빠른 복구를 가능하게 하는 회복력 있는 솔루션임
•
결국, 자연 재해에 대한 안전성과 회복력을 향상시켜 지진으로부터 커뮤니티가 빠르게 회복할 수 있도록 하는 것이 지속적으로 요구되고 있음
구현방법
기술 개요
•
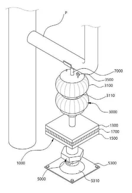
‘지진 공기 압축 파이프 지지대’는 지진이나 진동으로부터 건물 내 설치된 파이프를 보호하기 위해 공기 스프링과 롤러를 활용한 기술임 수직 및 수평 진동을 감소시키는 진동 절연기와 높이 조절기로 구성된 시스템임
기술 구현 세부사항
•
수직 진동 절연기는 압축 공기로 팽창하는 벨로우즈를 포함하며, 지지대 높이 조정과 진동 감소 기능을 함
•
수평 진동 절연기는 베어링과 휠, 고무 다이어프램으로 구성되어 상부 플레이트와 하부 플레이트 사이에서 자유롭게 움직이며 진동을 조절함
•
높이 조절기는 조정축을 통해 상하로 이동하며, 지지대의 높이를 파이프 설치 높이에 맞춰 조절할 수 있음
기술의 혜택
•
수직 및 수평 진동 절연기를 통해 지진과 같은 외부 충격으로부터 파이프를 효과적으로 보호함
•
베어링을 활용하여 다양한 방향의 진동을 효율적으로 감소시킴
•
압력 게이지를 통해 지진 전후의 파이프 지지대 상태를 모니터링하고 이상 유무를 감지할 수 있음
•
베어링의 수를 조절하여 부하를 분산시키고, 고무 다이어프램을 통해 먼지나 이물질의 유입을 방지함
활용 방안 및 기대효과
기술 적용 분야
•
지진으로부터 파이프라인 및 배관 시스템을 보호하는 기술로, 다양한 환경과 크기에 맞게 높이 조절이 가능한 받침대를 통해 유연하게 적용 가능함
•
병원, 학교, 공장 등 중요 시설물의 배관 시스템에 필수적인 안전 조치로 활용됨
기대되는 효과
•
배관 시스템의 파손 및 누출을 방지하여 인프라의 안전성을 향상시키고, 중요 시설물의 안전 유지에 기여함
•
자연재해로부터 중요 인프라를 보호하여 재난 대비 및 복구 비용을 절감하는데 기여할 것으로 예상됨
•
3차원적 진동 억제 기능은 기술적 혁신을 촉진하고 산업 표준을 제고하는데 기여할 것으로 기대됨
시장 동향
건설 시장 동향
기술 SWOT 분석
Strengths
지진 공기 압축 파이프 지지대의 독창성
•
수직 및 수평 진동 절연기를 통해 지진으로부터 파이프를 효과적으로 보호합니다.
•
베어링을 활용하여 다양한 방향의 진동을 효율적으로 감소시킵니다.
•
압력 게이지를 통해 지지대의 상태를 모니터링하고 이상 유무를 감지할 수 있습니다.
기술적 혁신 및 산업 표준 제고
•
3차원적 진동 억제 기능은 기술적 혁신을 촉진하고 산업 표준을 제고하는데 기여합니다.
Weaknesses
기술 구현의 복잡성
•
벨로우즈, 베어링, 고무 다이어프램 등 다양한 부품을 조합하여 시스템을 구성해야 하므로 설계 및 제작이 복잡할 수 있습니다.
유지보수의 어려움
•
다수의 부품과 복잡한 시스템으로 인해 유지보수가 어려울 수 있습니다.
Opportunities
중요 시설물의 안전성 향상
•
병원, 학교, 공장 등 중요 시설물의 배관 시스템에 필수적인 안전 조치로 활용될 수 있습니다.
재난 대비 및 복구 비용 절감
•
자연재해로부터 중요 인프라를 보호하여 재난 대비 및 복구 비용을 절감하는데 기여할 수 있습니다.
Threats
기존 내진 기술과의 경쟁
•
기존의 내진 기술 및 제품과의 경쟁에서 밀릴 수 있습니다.
기술 채택에 대한 시장의 저항
•
새로운 기술에 대한 시장의 저항으로 인해 채택이 느려질 수 있습니다.
Summary
종합 평가
•
지진 공기 압축 파이프 지지대는 지진으로부터 중요 인프라를 보호하는 혁신적인 기술로, 다양한 방향의 진동을 효과적으로 감소시키고, 시스템의 상태를 모니터링할 수 있는 장점이 있습니다.
•
그러나, 기술 구현의 복잡성과 유지보수의 어려움이 존재합니다.
•
중요 시설물의 안전성 향상과 재난 대비 비용 절감에 기여할 수 있는 기회가 있으나, 기존 기술과의 경쟁과 시장의 저항이 잠재적 위협으로 작용할 수 있습니다.
대표도면
인천대학교 산학협력단
(21999) 인천광역시 연수구 갯벌로 27(송도동) INU이노베이션센터 202호
본 메일은 마케팅 활용 동의서에 동의하신 회원님께 전송된 것입니다.
COPYRIGHT (c) 2026 Incheon National University. ALL RIGHT RESERVED.

