요약
본 발명은 LED 기반의 가시광 통신(VLC) 시스템의 데이터 전송 효율과 신뢰성을 향상시키기 위해 ACO-OFDM 변조 기법을 활용한 새로운 장치 및 동작 방법을 제시합니다. 이 기술은 LED의 비선형 특성에 강하고, 신호 왜곡을 최소화하며, 클리핑 현상을 줄이는 최적화된 신호 패턴을 사용하여 데이터 전송 오류를 현저히 감소시킵니다. 실험 결과, 이 방법은 기존 방식에 비해 데이터 전송의 효율성과 정확성을 크게 개선함을 보여줍니다. 이 발명은 실내 위치 시스템, IoT 연결성, RF 통신이 불가능한 지역에서의 고속 인터넷 접속 등 다양한 분야에 응용될 수 있으며, 에너지 효율적인 데이터 전송 방식으로 환경 보호에도 기여할 것으로 기대됩니다. ACO-OFDM 기술의 적용은 VLC 시스템의 성능을 개선하고, 장기적으로 스마트 조명 및 IoT 기기 간의 통신 표준으로 자리 잡을 가능성을 제시하며, 이를 통해 사회적 및 산업적 변화를 주도할 것으로 예상됩니다.
기본 정보
•
특허명: 데이터 전송 오류를 최소화할 수 있는 가시광 통신 장치 및 그 동작 방법
•
발명자: 전현채 교수
•
출원번호: 10-2022-0159901
•
등록번호: 10-2635098
상세 정보
발명의 배경 및 필요성
가시광 통신(VLC) 기술의 중요성
•
가시광 통신(VLC) 시스템에 적용된 ACO-OFDM 변조 기법은 빛 스펙트럼을 활용하며, RF 통신의 한계를 보완하는 대안으로 주목받음
•
LED 조명을 활용한 VLC는 고속 무선 통신을 위한 대역폭, 에너지 효율성, 보안성 등의 이점을 제공함
•
VLC 기술은 무선 데이터 전송 수요 증가와 RF 기반 시스템의 한계를 극복할 수 있는 유망한 대안으로 다양한 산업 분야에 새로운 통신 방식을 제공함
•
VLC는 기존 RF 통신에 비해 높은 대역폭과 에너지 효율성을 제공하며, 빛이 불투명한 구조를 통과하지 않아 보안성이 뛰어남
ACO-OFDM 기술의 필요성 및 연구
•
LED 조명의 비선형 특성에 강한 ACO-OFDM은 빛의 강도를 선형적으로 변조하도록 설계되었으나, 클리핑 현상으로 인한 신호 왜곡을 최소화하는 것이 중요함
•
연구자들은 신호 무결성을 유지하고 신뢰성 있는 고속 데이터 전송을 달성하기 위해 LED의 선형 작동 범위 내에서 ACO-OFDM 신호를 최적화하는 데 집중함
•
실내 위치 시스템, IoT 연결성, RF 통신이 불가능한 지역에서의 고속 인터넷 접속 등 다양한 실용적 시나리오에서 VLC 시스템의 구현을 위한 연구가 필수적임
•
ACO-OFDM은 LED의 비선형 특성에 강하고 기존 변조 기법보다 VLC에 더 적합함
구현방법
기술의 원리 및 구현
•
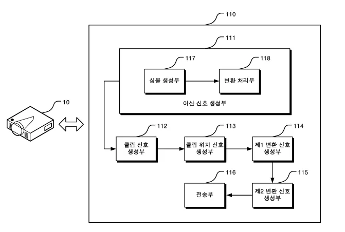
가시광 통신은 LED의 빛 깜빡임을 통해 정보를 전달하며, ACO-OFDM 기술을 사용해 데이터를 병렬 채널로 분할하여 효율적으로 전송함
•
전송할 데이터를 여러 신호로 나누고 각 신호의 강도를 조절해 신호 왜곡을 최소화하며, 이를 특정 패턴에 따라 합쳐 최종 전송 신호를 생성함
기술의 장점
•
데이터 전송의 효율성과 정확성을 높이고, 오류 발생 가능성을 줄여 안정적인 데이터 복원을 지원함
•
다양한 전자 장치에서 사용 가능하며, 기술의 유연성을 제공함
발명의 활용 방안
가시광 통신(VLC) 시스템의 성능 개선
•
ACO-OFDM 기술을 통해 LED 기반 가시광 통신 시스템의 데이터 전송 효율을 향상시키고, 신호 클리핑으로 전력 소비를 줄이며 데이터 전송량을 증가시킴
•
데이터 전송 중 오류를 감소시켜 신호의 안정성을 보장함
에너지 효율적인 데이터 전송 방식
•
전력 사용을 최소화하면서 데이터 전송률을 높여 에너지 효율성을 개선함
•
다양한 환경에서 VLC 기술의 적용 가능성을 확대함
기대효과
기술 혁신과 적용 확대
•
ACO-OFDM 적용으로 LED의 밝기 한계를 극복하고 신호 안정성을 높여 기술 혁신을 달성함
•
복잡한 전력 조절 없이도 효율적인 데이터 전송이 가능함
•
에너지 소비 감소와 통신 효율 향상으로 환경 보호에 기여함
장기적 비전과 사회적 변화
•
ACO-OFDM 기술이 VLC 시스템 발전을 촉진하고 스마트 조명 및 IoT 기기 간 통신 표준으로 자리매김할 가능성이 있음
•
에너지 효율과 데이터 전송 신뢰성을 갖춘 무선 통신 수단으로서 사회적, 산업적 변화를 주도할 것으로 기대됨
•
신뢰성 있는 데이터 전송으로 정보 통신 기술의 접근성과 사용자 경험을 향상시킴
시장 동향
통신 관련 시장 동향
대표도면
인천대학교 산학협력단
(21999) 인천광역시 연수구 갯벌로 27(송도동) INU이노베이션센터 202호
본 메일은 마케팅 활용 동의서에 동의하신 회원님께 전송된 것입니다.
COPYRIGHT (c) 2026 Incheon National University. ALL RIGHT RESERVED.

