요약
건강 관리와 웰니스 산업의 성장에 따라, 개인 맞춤형 운동 계획과 근육 피로 관리의 중요성이 커지고 있습니다. 이에 실시간으로 근육 피로도를 모니터링할 수 있는 웨어러블 시스템이 개발되었습니다. 이 시스템은 근육의 부피 변화를 감지하여 피로도를 평가하고, 스마트폰이나 스마트워치와 연동하여 사용자에게 적절한 휴식 시간을 알려줍니다. 근육 피로의 신뢰성 있는 모니터링을 통해 부상 예방과 건강 관리에 기여할 것으로 기대됩니다.
기본 정보
•
특허명: 근부피 기반 근피로도 측정시스템
•
대표 발명자: 김영진 교수
•
출원번호: 10-2023-0119542
발명의 배경 및 필요성
기술 발전과 건강 관리의 중요성
•
건강과 웰니스 산업의 성장에 따라 체력 유지와 체형 관리에 대한 관심이 커짐
•
운동 능력과 건강 상태를 정밀하게 모니터링하는 기술의 발전이 중요시되고 있음
•
기존 근육 피로 측정 방법은 실험실 환경에 한정되어 사용자에게 불편을 줄 수 있는 한계가 있었음
•
웨어러블 기술과 모바일 헬스케어의 발전으로 휴대성과 사용 편의성을 갖춘 모니터링 기술에 대한 수요가 증가함
근육 피로 모니터링 시스템의 필요성
•
실시간 근육 피로 모니터링이 가능한 시스템은 개인 맞춤형 운동 계획 수립과 근육 피로 관리에 도움을 줌
•
피트니스 앱과 웨어러블 기기의 인기 증가로 근육 피로도 모니터링 시스템 개발의 중요성이 부각됨
구현방법
기술의 원리 및 특징
•
본 기술은 근육의 부피 변화를 감지하여 근육 피로도를 평가하고 예측하는 웨어러블 시스템임
•
근육 활동을 나타내는 EMG 신호의 중앙 주파수(MDF)와 연관된 전기 신호로 근육 부피 변화를 감지함
•
전기 신호의 변화를 분석하여 근육 피로도를 추정하는 일차 회귀 함수를 사용함
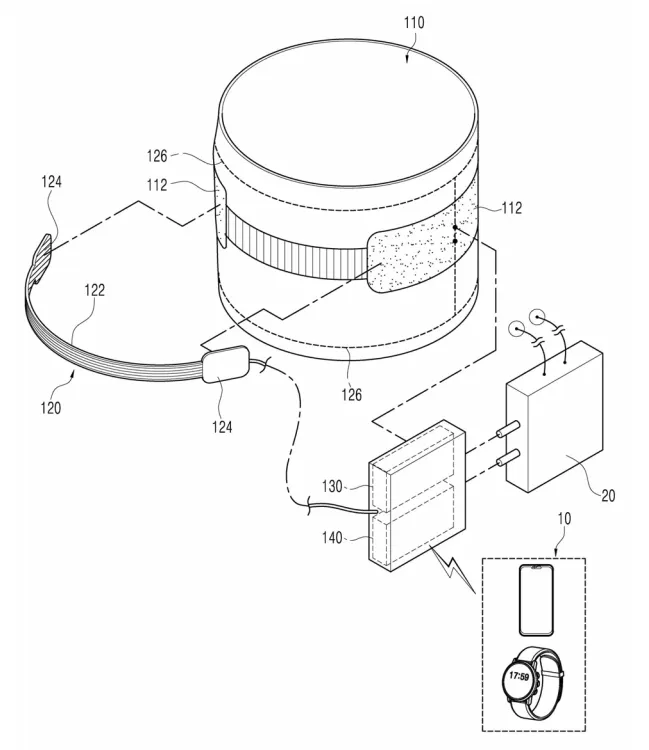
웨어러블 장치의 구성
•
신축성 있는 고정 부위를 통해 근육의 움직임에 따라 신장하거나 수축하며, 벨크로 형태의 착탈 부위로 팔이나 다리에 안정적으로 고정됨
•
전도성 소재로 만들어진 둘레 감지 구성 요소가 근육 부피 변화를 감지함
•
판별 부위는 마이크로컨트롤러, 배터리, LCD, 저장 장치를 포함하여 근육 피로를 측정함
•
블루투스 등의 통신 모듈을 이용한 전송 처리 부위로 계산된 근육 피로 데이터를 외부 장치로 전송함
기술의 이점
•
전통적인 EMG 장치 없이도 근육 부피 변화를 통해 근육 피로를 측정할 수 있음
•
개인의 나이, 키, BMI, 체지방 비율 등을 고려하여 근육 피로 데이터를 분석함
•
저항 값의 변화를 일차 회귀 함수에 적용해 중앙 주파수의 변화를 신뢰성 있게 계산하거나 추정함
•
근육 피로의 경향을 이해하고 상태 및 누적 정도를 예측 및 평가하는 데 유용함
활용 방안 및 기대효과
다양한 분야에서의 적용 가능성
•
운동 선수, 건설 근로자, 물류 취급 직원 등 신체 활동이 많은 사람들에게 적용되어 근육 피로도를 실시간으로 감지하고 적절한 휴식 시간을 제공함
•
EMG 장비를 사용하지 않고도 스마트폰이나 스마트워치를 통해 근육 상태를 쉽게 모니터링하고 근육 부피 변화 및 피로 회복 정도를 실시간으로 확인할 수 있음
건강 관리 및 부상 예방에 미치는 긍정적 영향
•
근육 피로를 효과적으로 감지하여 부상을 예방하고, 사용자가 신체 활동을 적절히 관리하며 근골격계 장애를 예방할 수 있음
•
전통적인 근육 분석 장치에 의존하지 않고도 지속적인 모니터링을 통해 운동 효율성과 건강 관리를 개선함
시장 동향
웨어러블 시장 동향
모바일 헬스케어 시장 동향
기술 SWOT 분석
Strengths
웨어러블 근육 피로 모니터링 시스템
•
EMG 장비 없이도 근육 부피 변화를 통해 정밀한 근육 피로도 측정이 가능합니다.
•
개인의 신체적 특성을 고려한 맞춤형 데이터 분석으로 정확도를 높입니다.
•
일차 회귀 함수를 활용하여 근육 피로도의 신뢰성 있는 계산 및 추정이 가능합니다.
사용자 편의성 강화
•
신축성 있는 고정 부위와 벨크로 착탈 부위로 사용자의 편의성을 높였습니다.
•
블루투스를 통한 무선 데이터 전송으로 스마트 기기와의 연동이 용이합니다.
Weaknesses
기술적 복잡성
•
일차 회귀 함수를 통한 데이터 분석은 사용자에게 이해하기 어려울 수 있습니다.
장치의 착용감
•
장시간 착용 시 불편함을 느낄 수 있는 가능성이 있습니다.
Opportunities
건강 관리 및 운동 효율성 향상
•
근육 피로 모니터링을 통해 부상 예방 및 운동 효율성을 개선할 수 있습니다.
시장 확대 가능성
•
운동 선수, 건설 근로자 등 다양한 직군에 적용 가능하여 시장 확대가 기대됩니다.
Threats
기존 기술과의 경쟁
•
기존의 EMG 장비와 같은 전문적인 장비와의 경쟁에서 밀릴 수 있습니다.
기술적 한계와 대체 가능성
•
근육 피로도 측정의 정확성과 신뢰성에 대한 지속적인 검증이 필요합니다.
•
새로운 기술이 등장할 경우 대체될 가능성이 있습니다.
Summary
종합 평가
•
웨어러블 근육 피로 모니터링 시스템은 사용자의 편의성과 정확한 데이터 분석을 강점으로 하며, 운동 효율성과 건강 관리에 기여할 잠재력이 큽니다.
•
기술적 복잡성과 착용감은 개선이 필요한 부분이며, 기존 기술과의 경쟁에서 우위를 점하기 위한 지속적인 연구개발이 요구됩니다.
•
다양한 분야로의 확장 가능성과 건강 관리에 대한 긍정적인 영향으로 인해 시장에서의 기회가 많습니다.
•
그러나 기술적 한계와 새로운 경쟁 기술의 등장은 잠재적 위협 요소입니다.
대표도면
인천대학교 산학협력단
(21999) 인천광역시 연수구 갯벌로 27(송도동) INU이노베이션센터 202호
본 메일은 마케팅 활용 동의서에 동의하신 회원님께 전송된 것입니다.
COPYRIGHT (c) 2026 Incheon National University. ALL RIGHT RESERVED.



