요약
이 기술은 지진으로 인한 인적 및 물적 피해를 최소화하기 위한 방재기술입니다. 지진의 에너지를 효과적으로 감소시키고, 구조물의 진동을 감쇄하며, 외력을 흡수하고 자동으로 원상복구하는 기능을 가지고 있습니다. 형상기억합금으로 만들어진 와이어와 마찰볼트를 이용해 지진의 진동을 줄이고, 조립식 댐퍼를 사용하여 지진 후 손상된 부품만 교체 가능합니다. 이를 통해 지진 후 건물이나 구조물의 잔류변위를 회복할 수 있습니다. 또한, 이 기술은 다양한 산업 분야에서 활용이 가능하며, 특히 지진에 대한 대응에 유용하게 사용될 수 있습니다.
기본 정보
•
특허명: 에너지소산형 마찰 댐퍼
•
대표 발명자: 허종완 교수
•
출원번호: 10-2023-0062629
발명의 배경 및 필요성
기술의 배경
•
지진으로 인한 인적, 물적 피해가 크게 발생
•
피해 최소화를 위한 내진설계 및 방재기술 적용 필요성 대두
•
다양한 방재기술 개발 중이나 지진 에너지 감소에 효과적인 기술에는 문제점 존재
기술의 필요성
•
잔류변위 제어 가능한 방재기술 필요
•
일차적 파손 후에도 복구 가능하며, 거동한계를 초과해도 방재효과가 떨어지지 않는 기술 필요
•
지진 에너지를 효과적으로 감소시키는 기술 개발 필요
실험 및 구현
댐퍼의 제조 방법
•
형상기억합금 와이어와 마찰볼트를 사용하여 지진의 진동을 줄이고 잔류변위를 제어할 수 있는 댐퍼 제작
•
조립식 댐퍼로 설계하여 지진 후 손상된 부분만 교체 가능
댐퍼의 작동 원리
•
초탄성 형상기억합금과 마찰 볼트를 사용하여 지진 후 건물이나 구조물의 잔류변위를 자동으로 복원
•
가이드판과 보조판을 통해 본체블록과 마찰블록이 일축으로 이동 가능
•
꼬인 형상으로 형성된 형상기억합금 와이어를 통해 본체블록과 마찰블록이 이동되더라도 원위치로 다시 이동 가능
•
거리센서를 통해 본체블록과 마찰블록의 위치 변화를 감지하고, 조명장치를 통해 사용자에게 알림
발명의 활용 방안
제품 및 서비스 적용
•
마찰댐퍼는 가동 부품의 운동 에너지를 열에너지로 변환하여 충격과 진동을 완화하는 데 활용됨
•
형상기억합금의 특성을 활용하여 변형된 형태를 원래대로 복원하는 기능을 제공함
•
내진보강 장치로서의 요구조건을 만족시키는 재사용 가능성 연구 중임
산업 및 사회 문제 해결
•
다양한 산업 분야에서 마찰댐퍼와 형상기억합금의 특성을 활용하여 제품 품질과 성능 향상에 기여함
•
구조물의 잔류변위를 제어하여 지진 발생 후 이차적 붕괴를 방지함
•
마찰댐퍼가 지진의 외력을 소산시키는 기능을 통해 추가적인 붕괴를 예방함
시장 동향
지진 방재기술 시장 동향
형상기억합금 기술 시장 동향
댐퍼 기술 시장 동향
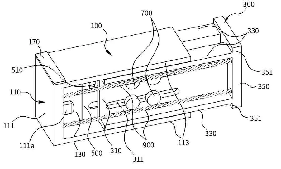
대표도면
인천대학교 산학협력단
(21999) 인천광역시 연수구 갯벌로 27(송도동) INU이노베이션센터 202호
본 메일은 마케팅 활용 동의서에 동의하신 회원님께 전송된 것입니다.
COPYRIGHT (c) 2023 Incheon National University. ALL RIGHT RESERVED.
발명의 배경 및 필요성
발명의 배경
•
탄소중립 요구와 신재생에너지 연구가 주목받음
•
Cu(In,Ga)(S,Se) 2(CIGSSe) 태양전지가 높은 전력변환효율과 유연한 기판 적용 가능성을 보여줌
•
알칼리 원소의 외부 공급 필요성과 알칼리 증착 후 처리 방법의 사용이 필요함
•
알칼리 금속이 공도핑된 태양전지용 CIGSSe 박막의 제조방법이 개발됨
발명의 필요성
•
친환경 에너지원으로서 박막형 태양전지의 중요성이 대두됨
•
다양한 분야에서의 활용을 위해 플렉서블한 태양전지 개발의 필요성이 제기됨
•
고가의 진공 장비와 유지비를 필요로 하는 CIGSSe 태양전지 제조 방법의 문제점이 있음
•
대기 환경에서 솔루션 기반 제조의 필요성이 있음
•
다중 알칼리처리를 위한 최적 조건 찾기의 어려움과 용액 기반 알칼리 처리의 필요성이 있음
실험 및 구현
제조 방법
•
구리, 인듐, 갈륨, 황 원소를 포함하는 전구체 용액 준비 및 알칼리 금속 용액을 첨가함
•
알칼리 금속 용액이 첨가된 전구체 용액을 유연기판에 스프레이 증착함
•
증착된 금속 전구체 층을 셀렌화 열처리하여 광흡수층을 형성함
•
이 과정을 통해 태양전지용 CIGSSe 박막을 제조함
•
제조된 태양전지용 CIGSSe 박막은 K, Rb 또는 Cs 중 어느 하나와 Na로 공도핑된 것임
실험 결과
•
어드미턴스 분광법을 사용해 300K ~ 90K 온도 범위와 20Hz ~ 2MHz 주파수 범위에서 실험을 진행함
•
Na와 K의 공도핑을 (Na x %, K y%)로 표기, 442 nm 레이저를 광원으로 사용함
•
소수 캐리어 수명은 1.856ns(550-셀)에서 2.633ns(560-셀), 4.621ns(570-셀)로 증가함
•
Na0.9% 및 K0.3%의 도핑 농도에서 CIGSSe 흡수체의 결함이 훨씬 더 부동태화되어 11.45%의 가장 높은 PCE를 초래함
•
셀렌화 온도가 높을수록 CIGSSe 흡수체의 더 많은 결함이 부동태화되어 V oc가 증가함
발명의 활용 방안
제품 및 서비스 적용
•
페로브스카이트 흡수체의 밴드갭이 1.65~1.7eV인 CIGSSe/페로브스카이트 탠덤 셀 같은 고효율 탠덤셀에 적용 가능함
•
Na와 K로 공도핑된 태양전지용 CIGSSe 박막 제조 가능함
•
이 박막을 포함하는 태양전지 제공 가능함
산업 및 사회 문제 해결
•
CdS 버퍼층의 CBD를 더 개선하면 셀렌화 셀의 PCE를 더 높일 수 있어, 고효율 플렉서블 탠덤 셀의 하단 셀로 채택 가능함
•
친환경적이고 저렴한 DI water를 용매로 사용하고, 대기환경에서 스프레이 증착을 진행해 고가의 용매와 글러브박스 등의 추가 장비 비용을 줄일 수 있음
•
Na와 K는 CIGSSe 흡수체에 쉽게 공도핑되며, 이는 유연한 CIGSSe 태양 전지를 위한 용액 기반의 in-situ 알칼리 공도핑 방법에 대한 첫 보고임




