요약
비접촉식으로 고해상도의 3차원 이미지를 생성할 수 있는 기술은 다양한 산업 분야에서 제품의 성능과 안정성을 결정짓는 중요한 요소로 활용됩니다. 이 기술은 백색광 간섭계 방식을 이용하여 미세 구조까지 정밀하게 측정할 수 있으며, 고속 데이터 처리 기술과 알고리즘 개발을 통해 측정 속도의 향상과 대면적 측정의 효율성을 높이는 연구가 진행 중입니다. 이로 인해 제조 공정의 효율성을 크게 향상시킬 뿐만 아니라 새로운 산업 분야에서의 응용 가능성을 열어줄 것으로 기대됩니다.
기본 정보
•
특허명: 횡방향 스캐닝 백색광 간섭계를 이용한 표면 형상 측정장치
•
대표 발명자: 임재승 교수
•
출원번호: 10-2023-0138146
발명의 배경 및 필요성
기술의 중요성
•
표면 형상 측정 기술은 공학, 제조, 연구 및 개발 분야에서 중요한 역할을 하며, 자동차, 항공우주, 반도체, 나노기술 등 다양한 산업 분야에서 제품의 성능과 안정성을 결정짓는 중요한 요소로 활용됨
•
기술 발전으로 초기의 기계적 촉침 사용에서 비접촉식 측정 방법으로 진화하였으며, 전자 빔, 주사식 전자 현미경, 주사식 촉침 현미경의 개발로 미세한 구조까지 측정이 가능해짐
•
백색광 간섭계 방식을 통해 비접촉식이면서도 고해상도의 3차원 이미지 생성이 가능해져 매우 정밀한 측정이 가능해짐
기술의 필요성
•
대면적 측정의 어려움과 측정 속도의 제한은 현재 기술의 널리 적용되는 데 중요한 장애물임
•
고속 데이터 처리 기술과 알고리즘 개발을 통한 측정 속도 향상과 다중 채널 간섭계 사용으로 동시에 여러 지점을 측정하여 대면적 측정의 효율성을 높이는 연구가 진행 중임
•
기술적 진보는 제조 공정의 효율성을 크게 향상시킬 뿐만 아니라 새로운 산업 분야에서의 응용 가능성을 열어줄 것으로 기대됨
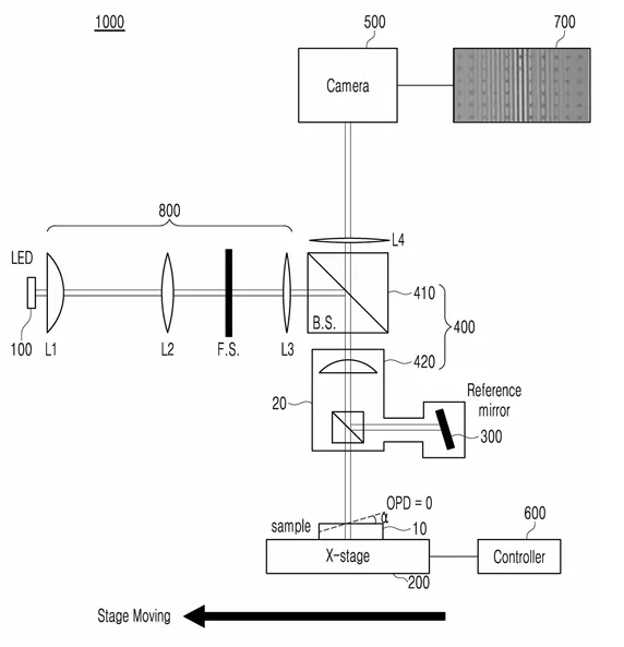
구현방법
기술 원리 및 구현
•
본 기술은 백색광을 이용해 샘플의 표면 형상을 정밀하게 측정하는 원리에 기반하며, 모든 색깔의 빛을 포함한 백색광으로 다양한 샘플 측정이 가능함
•
광원부에서 발생한 백색광이 조명부를 통해 평행하고 균일한 에너지 분포로 만들어지고, 스테이지부에 올려진 샘플을 좌우로 움직여 다양한 부분의 측정을 가능하게 함
•
광분할부를 통해 백색광이 샘플과 미러부로 나뉘어 보내지고, 두 경로에서 반사된 빛이 카메라부에서 간섭무늬로 촬영됨. 간섭무늬는 두 빛의 경로 차이로 인해 생기는 무늬로, 이를 분석하여 샘플의 표면 형태를 파악함
•
제어부가 카메라의 촬영 속도와 스테이지부의 이동 속도를 조절하여 측정 속도를 최적화하고, 이미지처리부에서 촬영된 간섭무늬 이미지를 분석하여 샘플의 표면 형상 정보를 얻음
•
간섭무늬의 주기를 정밀하게 파악하여 데이터를 나누고 스테이지의 이동 속도를 조절함으로써 측정 속도를 향상시킴
기술의 장점
•
대면적 샘플의 표면 형상을 빠르고 정밀하게 측정할 수 있으며, 다양한 부분을 효과적으로 측정하며 측정 과정에서 발생할 수 있는 오류를 최소화함
•
고배율 환경에서도 사용할 수 있는 미라우 대물렌즈 구조를 사용하여 복잡한 표면의 정밀한 측정이 가능함
활용 방안 및 기대효과
적용 분야
•
나노과학, 반도체, 나노물리 등 과학 분야와 평면 디스플레이, MEMS, 광학 부품, 미세 정밀 부품 제조 분야에서 나노 또는 마이크로미터 크기의 3차원 구조를 가진 물체의 표면 측정과 미세 가공된 표면의 형태나 결함 정밀 측정에 활용 가능
•
정밀 공학, 반도체 제조, 생명 과학 연구 등 고도로 정밀한 측정이 필수적인 분야에서 유용하며, 반도체 칩의 미세 결함 발견과 복잡한 기계 부품의 표면 정밀 측정에 기여
기대 효과
•
기존 기술로는 도달하기 어려웠던 새로운 가능성을 제시하며, 표면 형상 측정 기술의 발전에 중요한 기여할 것으로 예상
•
다양한 분야에서 표면 형상을 정밀하게 측정할 수 있어 널리 활용될 가능성이 높으며, 정밀한 제품 제조, 결함 감소, 연구 개발의 효율성 향상을 통해 과학과 산업 분야에서 큰 도약을 기대
•
기술적 혁신 및 산업 발전에 기여할 것으로 기대됨
시장 동향
나노기술 시장 동향
기술 SWOT 분석
Strengths
고해상도 3차원 이미지 생성
•
백색광 간섭계 방식을 이용하여 비접촉식으로 고해상도의 3차원 이미지를 생성할 수 있어, 매우 정밀한 측정이 가능합니다.
다양한 산업 분야 적용 가능
•
자동차, 항공우주, 반도체, 나노기술 등 다양한 산업 분야에서 제품의 성능과 안정성을 결정짓는 중요한 요소로 활용됩니다.
미세 구조 측정
•
전자 빔, 주사식 전자 현미경, 주사식 촉침 현미경의 개발로 미세한 구조까지 측정이 가능해졌습니다.
Weaknesses
대면적 측정의 어려움
•
대면적 측정의 어려움과 측정 속도의 제한이 현재 기술의 널리 적용되는 데 중요한 장애물로 작용합니다.
Opportunities
고속 데이터 처리 기술과 알고리즘 개발
•
측정 속도 향상과 다중 채널 간섭계 사용으로 동시에 여러 지점을 측정하여 대면적 측정의 효율성을 높이는 연구가 진행 중입니다.
새로운 산업 분야에서의 응용 가능성
•
기술적 진보는 제조 공정의 효율성을 크게 향상시킬 뿐만 아니라 새로운 산업 분야에서의 응용 가능성을 열어줄 것으로 기대됩니다.
Threats
기술 발전에 따른 경쟁 증가
•
비슷한 기술을 개발하는 다른 기업들과의 경쟁이 치열해질 수 있습니다.
기술적 복잡성으로 인한 채택 장벽
•
기술의 복잡성으로 인해 새로운 사용자들이 이 기술을 채택하는 데 있어 장벽이 될 수 있습니다.
Summary
Strengths
•
비접촉식 고해상도 3차원 이미지 생성이 가능하며, 다양한 산업 분야에 적용될 수 있고, 미세 구조까지 측정할 수 있는 기술입니다.
Weaknesses
•
대면적 측정의 어려움과 측정 속도의 제한이 있습니다.
Opportunities
•
고속 데이터 처리 기술과 알고리즘 개발을 통한 측정 속도 향상과 새로운 산업 분야에서의 응용 가능성이 있습니다.
Threats
•
기술 발전에 따른 경쟁 증가와 기술적 복잡성으로 인한 채택 장벽이 있습니다.
대표도면
인천대학교 산학협력단
(21999) 인천광역시 연수구 갯벌로 27(송도동) INU이노베이션센터 202호
본 메일은 마케팅 활용 동의서에 동의하신 회원님께 전송된 것입니다.
COPYRIGHT (c) 2026 Incheon National University. ALL RIGHT RESERVED.


