요약
현금 자동 입출금기(ATM)는 시각 장애인을 위해 점자 버튼 등을 제공하지만, 시각 장애인이 ATM 위치를 정확히 찾는 데 어려움이 있었습니다. 이 문제를 해결하기 위해 LED의 깜빡임을 통해 정보를 전달하는 가시광 통신 기술을 도입하면 시각 장애인이 ATM의 위치를 음향 신호로 안내받아 쉽게 찾을 수 있습니다. 이 기술을 통해 시각 장애인의 금융 접근성을 높이고 사용 편의성을 향상시키며, 은행뿐만 아니라 다양한 공공 시설에서도 활용이 가능합니다. 이는 시각 장애인의 자립성을 높이고 일상 생활의 편리함을 제공하며, 비용 절감 및 운영 효율 향상에도 기여할 수 있습니다.
기본 정보
•
특허명: 시각 장애인이 소지한 전자 단말과 연동하여, 상기 시각 장애인의 접근을 유도할 수 있는 현금 자동 입출금기 및 그 동작 방법
•
발명자: 전현채 교수
•
출원번호: 10-2022-0126299
•
등록번호: 10-2698670
상세 정보
발명의 배경과 필요성
기술의 배경과 문제점
•
현금 자동 입출금기(ATM)는 시각 장애인을 위해 점자 버튼 등을 제공하지만, 시각 장애인이 ATM 위치를 정확히 찾는 데 어려움이 있음. 시각 장애인이 ATM의 설치 지점을 안전하고 빠르게 찾을 수 있는 시스템 부재가 주된 문제임.
•
기존의 ATM은 점자 등의 물리적 인터페이스를 제공하므로 시각 장애인의 사용성을 어느 정도 개선할 수 있지만, 근본적으로 ATM의 위치 식별이 어려워 실질적 사용에 제약이 많음.
기술의 필요성
•
가시광 통신 기술을 활용하여 시각 장애인이 ATM 설치 지점을 쉽게 찾을 수 있도록 하는 기술의 도입이 필요함. 이를 통해 시각 장애인의 금융 접근성을 높이고, ATM 사용 편의성을 향상시킬 수 있음.
•
가시광 통신 기술은 LED의 깜빡임을 통해 정보를 전달하는 무선 통신 기술로, 안전하고 효율적으로 정보를 전달할 수 있음. 이를 활용해 시각 장애인에게 ATM의 위치를 음향 신호로 안내할 수 있어 유용함.
구현방법
기술의 원리
•
본 발명의 ATM은 가시광 통신 기술을 활용하여 시각 장애인이 ATM 설치 지점을 안내받도록 함. 가시광 통신 기술은 LED의 깜빡임을 이용하여 정보를 전달하며, 이는 시각 장애인의 전자 단말기로 음향 신호를 송출함으로써 작동됨.
•
전자 단말은 특정 색상의 광원을 방출하고, ATM에게 정보를 받으며, 해당 정보를 복조하여 음향으로 출력함.
구체적인 구현 방법
•
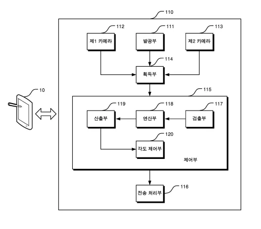
ATM 전면부에 장착된 발광부는 가시광 통신을 위해 광신호를 방사함. 발광부는 중심축을 기준으로 수평 방향으로 조정 가능하며, 각도 조정에 따라 광신호의 방사 방향을 설정함.
•
제1 카메라와 제2 카메라는 ATM 전면 좌우에 배치되어 광원을 촬영하여 광원의 위치를 특정함. 촬영 이미지를 통해 광원의 위치를 계산하고, 발광부의 각도를 조정하여 최적의 방사 방향을 맞춤.
•
전송 처리부는 가청 주파수 대역의 음향 신호를 가시광 주파수의 반송파로 변조하여 발광부를 통해 송출함. 전자 단말은 수신기를 통해 이를 수신하고, 복조기를 통해 음향 신호를 복조하여 스피커로 출력을 증가시킴.
기술의 장점
•
시각 장애인이 별도의 도움 없이 ATM 위치를 음향 신호를 통해 쉽게 찾을 수 있어, 금융 접근성이 대폭 향상됨.
•
가시광 통신 기술을 이용하여 안전하고 효율적으로 정보를 전달할 수 있음.
발명의 활용 방안
활용 방안
•
본 발명을 통해 개발된 ATM은 은행뿐만 아니라 공공 기관, 대형 마트 등의 다양한 장소에 설치되어 시각 장애인의 금융 접근성을 개선할 수 있음.
•
공공 장소에서의 정보 접근성 개선을 위해 다른 공공 시설로도 확장이 가능함. 예를 들어, 공공 도서관, 병원 및 관공서에서도 활용할 수 있음.
기대효과
사회적 가치와 경제적 효과
•
시각 장애인의 금융 접근성을 크게 향상시켜 사회적 평등에 기여할 수 있음. 이는 시각 장애인의 자립성을 높이며, 일상 생활에 큰 편리함을 제공함.
•
고객 만족도 상승 및 브랜드 이미지 제고에 기여할 수 있음. 은행과 기업이 본 기술을 도입함으로써 사회적 책임을 다하는 이미지를 구축할 수 있음.
•
비용 절감 및 운영 효율 향상에도 기여할 수 있음. 시각 장애인을 위한 물리적 인프라 구축 비용을 줄이고 기술적 해결책을 제공함으로써 비용 효율성이 높아짐.
시장 동향
시각 장애인 접근성 기술 응용 분야
ATM 위치 안내 기술 시장 동향
가시광 통신 기술 시장 전망
대표도면
인천대학교 산학협력단
(21999) 인천광역시 연수구 갯벌로 27(송도동) INU이노베이션센터 202호
본 메일은 마케팅 활용 동의서에 동의하신 회원님께 전송된 것입니다.
COPYRIGHT (c) 2026 Incheon National University. ALL RIGHT RESERVED.

