요약
게임, 영화, 보안 시스템 및 차량 번호판 인식과 같은 다양한 분야에서 고해상도 이미지가 필요합니다. 기존에는 이미지 보간 기술이 주로 사용되었지만 한계가 있었습니다. 딥러닝 기반의 이미지 해상도 개선 기술은 이러한 한계를 극복하고 낮은 해상도의 이미지를 고해상도로 변환할 수 있습니다. 이 기술은 합성곱층과 시공간 단계 학습(STSL) 유닛으로 구성된 신경망 모델을 사용하여 훈련된 데이터로 이미지를 실시간으로 처리합니다. 이를 통해 게임, 영화, 보안 시스템 등 다양한 분야에서 품질을 크게 향상시킬 수 있습니다.
기본 정보
•
특허명: 딥러닝 기반의 이미지 해상도 개선을 수행할 수 있는 전자 장치 및 그 동작 방법
•
발명자: 전광길 교수
•
출원번호: 10-2023-0026564
•
등록번호: 10-2679775
상세 정보
발명의 배경과 필요성
기술의 배경과 문제점
•
이미지 해상도를 개선하는 기술은 다양한 분야에서 매우 중요함. 게임, 영화, 보안 시스템 및 차량 번호 인식 등의 분야에서 고해상도 이미지가 필수적임.
•
현재 주로 사용되는 기술로는 이미지 보간 기술이 있으나, 이는 주변 화소 값을 기반으로 비어있는 화소를 채우는 방식으로 한계가 있음.
•
최근에는 인공지능, 특히 딥러닝을 통해 낮은 해상도의 이미지를 고해상도로 변환하는 기술이 주목받고 있음.
기술의 필요성
•
딥러닝 기반의 이미지 해상도 개선 기술은 기존 기술의 한계를 극복할 수 있음. 낮은 해상도의 이미지를 고해상도로 변환하여 활용도를 높일 수 있음.
•
이를 통해 사용자는 훨씬 선명하고, 질 좋은 이미지를 얻을 수 있으며, 이는 다양한 산업 분야에서 품질 개선으로 이어질 것임.
구현방법
기술의 원리
•
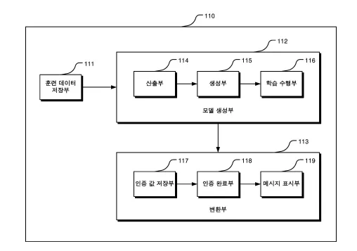
이 기술은 딥러닝을 이용하여 이미지 해상도를 개선하는 전자 장치와 그 동작 방법을 제시함. 사전 수집된 훈련용 이미지와 대응되는 고해상도 변환 이미지를 사용하여 신경망 모델을 학습시킴.
•
모델은 합성곱층과 시공간 단계 학습(STSL) 유닛으로 구성되며, 각각의 유닛은 멀티 어텐션 강화 잔차 블록(MERB)들로 이루어짐.
구체적인 구현 방법
•
훈련 데이터 저장부에 저장된 복수의 훈련용 이미지들을 사용하여 신경망 모델을 학습시킴. 이 과정에서 합성곱층과 STSL 유닛을 통해 이미지를 처리함.
•
생성된 모델을 통해 사용자가 입력한 실제 이미지의 해상도를 실시간으로 개선함. 이 과정에서는 전자 장치가 사용자 인증을 통해 안전하게 작동함.
기술의 장점
•
기존 기술 대비 해상도를 크게 개선할 수 있음. 특히, 게임이나 영화 산업 등에서 이미지 품질 향상에 크게 기여할 것임.
•
다양한 어플리케이션에서 적용 가능하여 산업 전반에 걸쳐 긍정적인 효과를 기대할 수 있음.
발명의 활용 방안
특정 제품 및 서비스에 적용 방안
•
게임 그래픽 향상: 사용자가 게임 내에서 더 선명한 비주얼을 경험할 수 있음.
•
영화 및 방송 콘텐츠 제작: 기존 영상의 해상도를 개선하여 고화질 재생이 가능.
•
보안 시스템: CCTV 영상의 해상도를 높여 더 정확한 상황 파악이 가능.
적용 가능 산업 분야
•
영상 및 사진 편집 소프트웨어
•
게임 개발
•
보안 및 감시 시스템
•
자동차 번호판 인식 시스템
기대효과
기술 혁신 및 경제적 효과
•
고해상도 이미지 기술의 상용화를 통해 시장에서의 경쟁력을 확보할 수 있음. 이는 기업의 매출 증대와 비용 절감에 기여할 것임.
•
사용자 경험의 향상으로 인해 다양한 산업 분야에서 긍정적인 반응을 얻을 것으로 기대됨.
시장 동향
딥러닝 기반 이미지 해상도 개선 기술
딥러닝 기반 이미지 해상도 개선 기술 응용 분야
대표도면
인천대학교 산학협력단
(21999) 인천광역시 연수구 갯벌로 27(송도동) INU이노베이션센터 202호
본 메일은 마케팅 활용 동의서에 동의하신 회원님께 전송된 것입니다.
COPYRIGHT (c) 2026 Incheon National University. ALL RIGHT RESERVED.

